LEMON Manuals: Even more car manuals for everyone: 1960-2025
Home >> Buick >> 2013 >> Verano Base >> Repair and Diagnosis >> External Pages >> Different car >> Section 202 (Wiring Systems And Power Management - Component Connector End Views - K20 ECM X2 Through X85) >> Component Connector End Views >> P17 Info Display Module X2 (UDY)
April 5, 2026: LEMON Manuals is launched! Read the announcement.

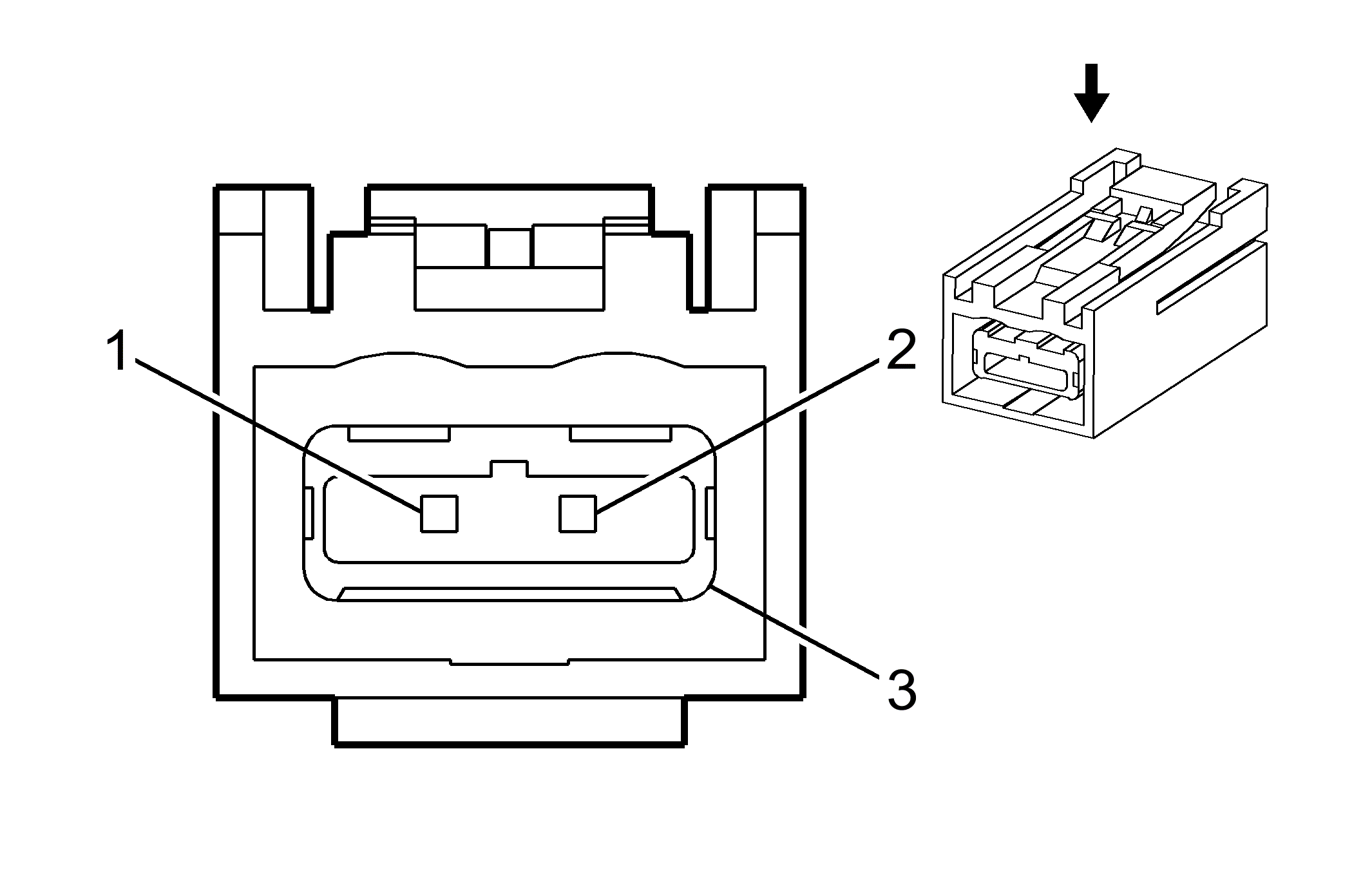
P17 Info Display Module X2 (UDY)

WARNING: This page is about a different car, the 2012 Buick Verano. However, it is still accessible from the selected car via links, so may be relevant.
GM1974985
Connector Part Information
  • Harness Type: Instrument Panel TWINAX
  • OEM Connector: 13649293
  • Service Connector: Service by Cable Assembly - See Parts Catalog
  • Description: 3-Way F, Sealed (L-BU)
Terminal Part Information
  • Terminated Lead: Service by Cable Assembly - See Parts Catalog
  • Release Tool: No Tool Required
  • Diagnostic Test Probe: No Tool Required
P17 Info Display Module X2 (UDY)

Pin Size Color Circuit Function Option
- - TWINAX - Navigation Display Signal -