K20 Engine Control Module X1 (LLU)
WARNING: This page is about a different car, the 2013 Buick Regal. However, it is still accessible from the selected car via links, so may be relevant.
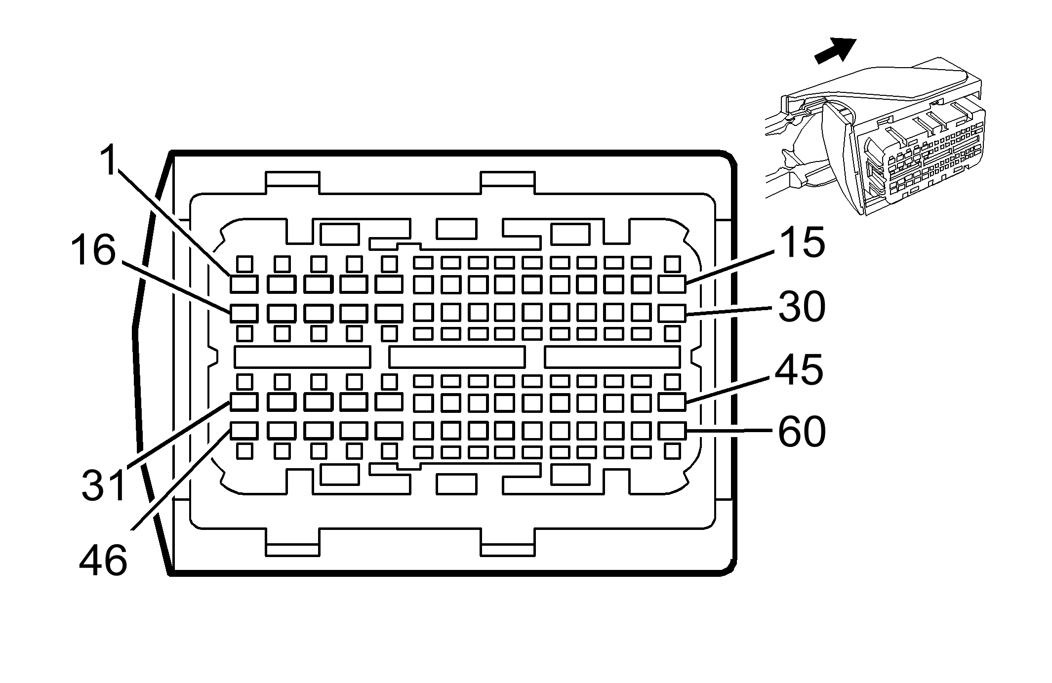
Connector Part Information
|
Terminal Part Information
| Terminal Type ID | Terminated Lead | Diagnostic Test Probe | Terminal Removal Tool |
|---|---|---|---|
| I | Not Available | J-35616-14 (GN) | J-38125-557 |
| II | 1928492555 | - | - |
| III | 1928492556 | - | - |
K20 Engine Control Module X1 (LLU)
| Pin | Size | Color | Circuit | Function | Terminal Type ID | Option |
|---|---|---|---|---|---|---|
| 1 | 0.75 | L-GN/BK | 1423 | Heated Oxygen Sensor Heater Low Control Bank 1 Sensor (2) | I | - |
| 2 | 0.75 | BN | 1746 | Fuel Injector Control (3) | I | - |
| 3 | 0.75 | GN/L-BU | 428 | EVAP Canister Purge Solenoid Control | I | - |
| 4 | 0.75 | YE/BU | 1745 | Fuel Injector Control (2) | I | - |
| 5 | 0.75 | L-GN | 3060 | Overrun Air Valve Solenoid | I | - |
| 6-8 | - | - | - | Not Occupied | - | - |
| 9 | 0.5 | BN/RD | 5639 | Turbo Boost Pressure Sensor 5 Volt Reference | II | - |
| 10 | 0.5 | BN/YE | 416 | Throttle Position Sensor 5 Volt Reference | II | - |
| 11 | 0.5 | GY/BK | 5300 | Camshaft Position Intake Sensor Supply Voltage (1) | II | - |
| 12 | 0.5 | YE/VT | 5275 | Camshaft Position Intake Sensor (1) | II | - |
| 13 | 0.5 | BK/YE | 2752 | Throttle Position Sensor Low Reference | II | - |
| 14 | 0.75 | BK/BU | 2760 | Intake Air Temperature Sensor Low Reference | III | - |
| 15 | - | - | - | Not Occupied | - | - |
| 16 | 0.75 | GY/WH | 3113 | Heated Oxygen Sensor Heater Low Control Bank 1 Sensor (1) | I | - |
| 17 | 0.75 | BN/VT | 1744 | Fuel Injector Control (1) | I | - |
| 18 | 0.75 | BN/GY | 3058 | Waste Gate Solenoid Control | I | - |
| 19 | 0.75 | BN/WH | 844 | Fuel Injector Control (4) | I | - |
| 20 | - | - | - | Not Occupied | - | - |
| 21 | 0.5 | GN | 1533 | Turbo Boost Pressure Sensor Signal | II | - |
| 22 | 0.5 | BN/BU | 486 | Throttle Position Sensor Signal (2) | II | - |
| 23 | - | - | - | NotUsed | - | - |
| 24 | 0.5 | GY | 5641 | Turbo Boost Pressure Sensor Temperature Signal | II | - |
| 25-26 | - | - | - | NotUsed | - | - |
| 27 | 0.5 | BN/BK | 1174 | Oil Level Switch Signal | II | - |
| 28 | 0.5 | BK/BN | 5301 | Camshaft Position Intake Sensor Low Reference (1) | II | - |
| 29 | 0.5 | BK/BU | 2761 | Coolant Temperature Sensor Low Reference | II | - |
| 30 | - | - | - | NotUsed | - | - |
| 31 | 0.75 | BU/VT | 2121 | Ignition Control (1) | I | - |
| 32-33 | - | - | - | NotUsed | - | - |
| 34 | 0.75 | BN/GY | 472 | Intake Air Temperature Sensor Signal | I | - |
| 35 | - | - | - | NotUsed | - | - |
| 36 | 0.5 | BK/YE | 1716 | Low Reference | II | - |
| 37 | 0.5 | GN/RD | 6272 | Low Reference | II | - |
| 38 | 0.5 | BK/BU | 6271 | Crankshaft Sensor Signal | II | - |
| 39 | 0.5 | VT/GY | 6270 | Crankshaft Position Sensor Control | II | - |
| 40-41 | - | - | - | NotUsed | - | - |
| 42 | 0.5 | BN/GN | 485 | Low Reference | II | - |
| 43 | 0.5 | GN/VT | 2032 | Coolant Temperature Sensor Signal | II | - |
| 44 | 0.5 | BK/GN | 5638 | Turbo Boost Pressure Sensor Low Reference | II | - |
| 45 | - | - | - | Not Occupied | - | - |
| 46 | 0.75 | BU/WH | 2123 | Ignition Control (3) | I | - |
| 47 | 0.75 | L-GN/BN | 2124 | Ignition Control (4) | I | - |
| 48 | 0.75 | YE/BU | 2122 | Ignition Control (2) | I | - |
| 49 | 0.75 | WH/BU | 560 | Throttle Relaxer Motor Control | I | - |
| 50 | 0.75 | BK/WH | 561 | Throttle Relaxer Motor Low Reference | I | - |
| 51 | 0.5 | VT/GY | 496 | Knock Sensor Signal (1) | II | - |
| 52 | 0.5 | BN/GY | 1671 | Heated Oxygen Sensor Low Signal Bank 2 Sensor (2) | II | - |
| 53 | 0.5 | L-BU | 1670 | Heated Oxygen Sensor High Signal Bank 2 Sensor (2) | II | - |
| 54 | 0.5 | BK/GY | 1664 | Heated Oxygen Sensor Low Signal Bank 1 Sensor (1) | II | - |
| 55 | 0.5 | GN/BK | 1665 | Heated Oxygen Sensor High Signal Bank 1 Sensor (1) | II | - |
| 56 | - | - | - | Not Occupied | - | - |
| 57 | 0.75 | YE/GN | 231 | Oil Pressure Switch Signal | III | - |
| 58 | - | - | - | Not Occupied | - | - |
| 59 | 0.75 | GN/WH | 492 | Mass Air Flow Sensor Signal | III | - |
| 60 | - | - | - | Not Occupied | - | - |