LEMON Manuals: Even more car manuals for everyone: 1960-2025
Home >> Buick >> 2013 >> Verano Premium, Standard Trans >> Repair and Diagnosis >> External Pages >> Different car >> Section 453 (Wiring Systems And Power Management - Component Connector End Views - K36 (X2) To M72) >> Component Connector End Views >> K40 Seat Memory Control Module X4 A45/CZ2
April 5, 2026: LEMON Manuals is launched! Read the announcement.

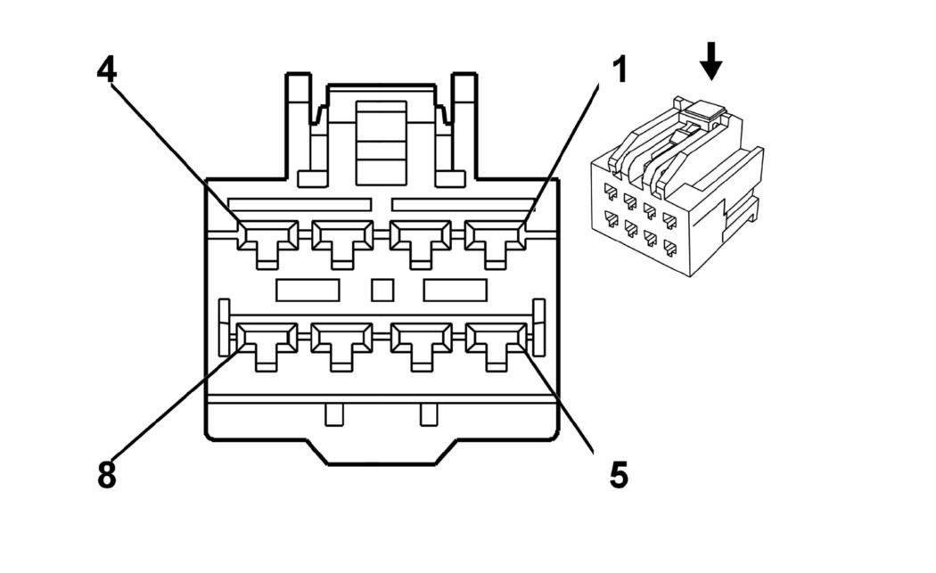
K40 Seat Memory Control Module X4 A45/CZ2

WARNING: This page is about a different car, the 2013 Buick Regal. However, it is still accessible from the selected car via links, so may be relevant.
GM1664464
Connector Part Information
  • Harness Type: Driver Seat
  • OEM Connector: 6098-4798
  • Service Connector: 19115652
  • Description: 8-Way F 2.8 Series (GY)
Terminal Part Information

Terminal Type ID Terminated Lead Diagnostic Test Probe Terminal Removal Tool
I 13575577 J-35616-35 (VT) J-38125-553
K40 Seat Memory Control Module X4 A45/CZ2

Pin Size Color Circuit Function Terminal Type ID Option
1 1 RD/D-GN 240 Battery Positive Voltage I -
2 0.35 BK/BU 5978 Memory Switch Low Reference I -
3 2.5 BK 250 Ground I -
4 - - - Not Occupied - -
5 2.5 RD/D-GN 240 Battery Positive Voltage I -
6 1 BK 150 Ground I -
7 1.5 L-GN/BN 286 Driver Power Seat Front Vertical Motor Up Control I -
8 1.5 D-BU/VT 287 Driver Power Seat Front Vertical Motor Down Control I -