LEMON Manuals: Even more car manuals for everyone: 1960-2025
Home >> Buick >> 2016 >> Verano Base, Gas/Ethanol >> Repair and Diagnosis (Single Page) >> Quick Lookups >> Electrical Component Locations >> Electrical Component Locator - Passenger Compartment/Roof Component Views >> Passenger Compartment/Roof Component Views >> Headliner Components
April 5, 2026: LEMON Manuals is launched! Read the announcement.

Headliner Components

Headliner Components

Items
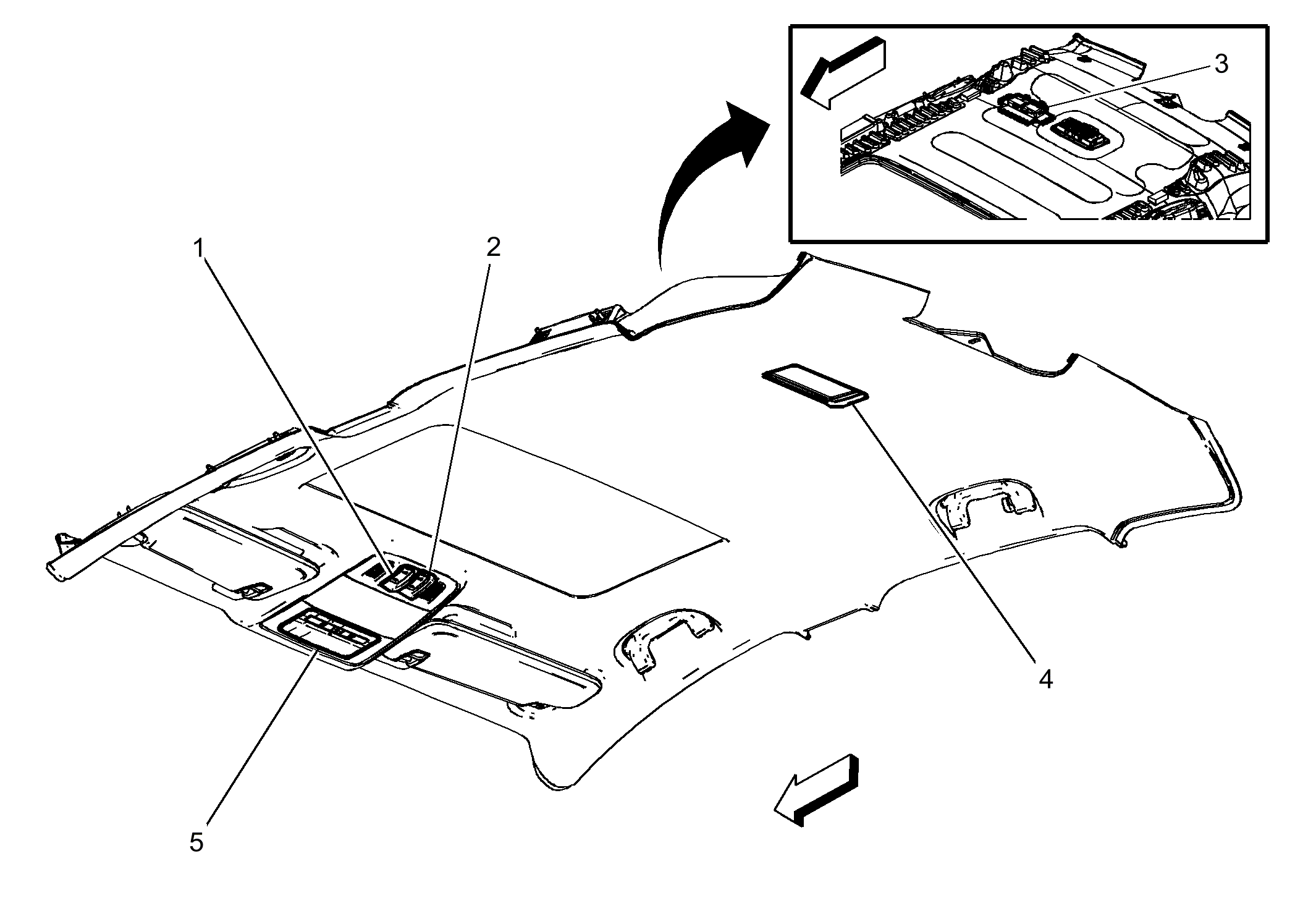
1. S72 Sunroof Switch (CF5) S72 Sunroof Switch
2. S88 Sunroof Tilt Switch (CF5) S88 Sunroof Tilt Switch
3. K77 Remote Control Door Lock Receiver K77 Remote Control Door Lock Receiver
4. E37R Dome/Reading Lamps - Rear E37R Dome/Reading Lamps - Rear
5. E37F Dome/Reading Lamps - Front E37F Dome/Reading Lamps - Front
Fig 1: Headliner Components
GM3337952Courtesy of GENERAL MOTORS COMPANY