LEMON Manuals: Even more car manuals for everyone: 1960-2025
Home >> Buick >> 2017 >> Encore Base >> Repair and Diagnosis >> Engine Performance >> System >> Engine Controls And Fuel - 1.4L (LUV) - Description And Operation >> Description and Operation >> Turbocharger System Description >> Notes
April 5, 2026: LEMON Manuals is launched! Read the announcement.

Turbocharger System Description: Notes

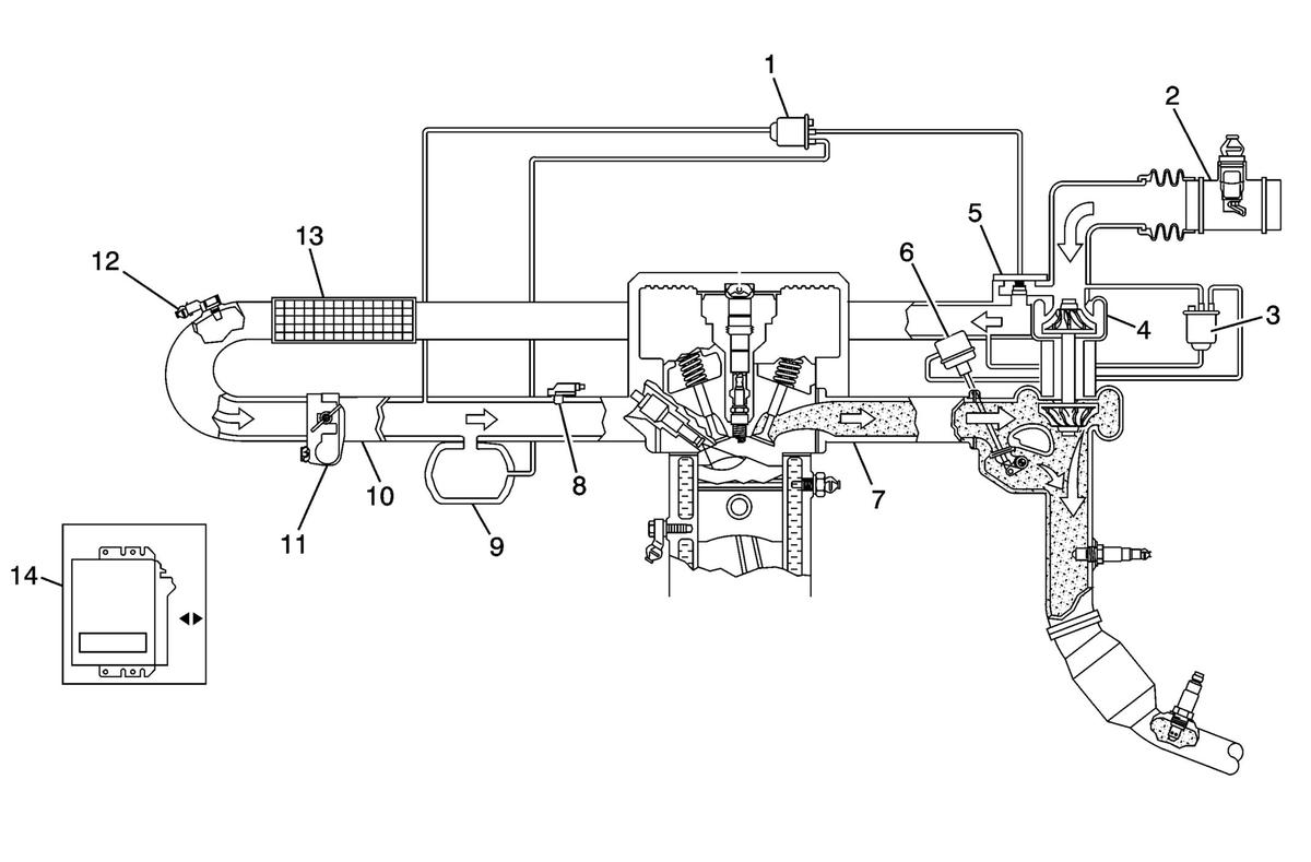
Fig 1: Turbocharger System Description Diagram
GM3290127Courtesy of GENERAL MOTORS COMPANY
Callout Component Name
1 Turbocharger Bypass Solenoid Valve
2 Multifunction Intake Air Sensor
3 Turbocharger Wastegate Regulator Solenoid Valve
4 Turbocharger
5 Turbocharger Bypass Valve
6 Turbocharger Wastegate Actuator
7 Engine Exhaust Manifold
8 Manifold Absolute Pressure (MAP) Sensor
9 Vacuum Tank (Integral to Intake Manifold)
10 Intake Manifold
11 Throttle Body
12 Intake Air (Boost) Pressure and Temperature Sensor
13 Charge Air Cooler
14 Engine Control Module (ECM)