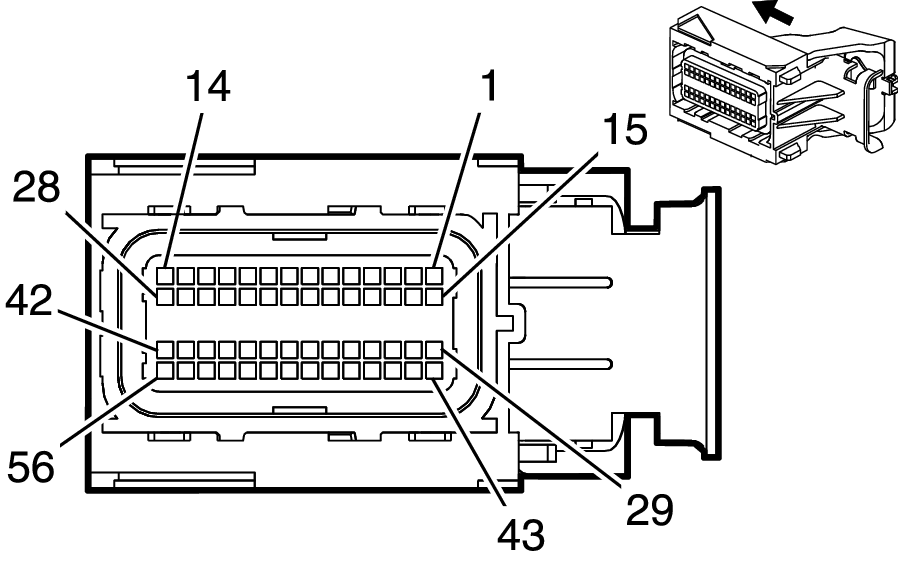
T6 Power Inverter Module X1 (CZ2)
|
|
Connector Part Information
- Harness Type: Engine
- OEM Connector: 13946578
- Service Connector: 19352787
- Description: 56-Way F MX123 34576 Series (BK with GY Terminal Position Assurance)
|
Terminal Part Information
| Terminal Type ID |
Terminated Lead |
Diagnostic Test Probe |
Terminal Removal Tool |
Service Terminal |
Tray Name |
Core Crimp |
Insulation Crimp |
| I |
13575812 |
J-35616-64B (LT BU) |
J-38125-213 |
Not Available |
Not Available |
Not Available |
Not Available |
| Pin |
Size |
Color |
Circuit |
Function |
Terminal Type ID |
Option |
| 1 |
0.75 |
BK/WH |
151 |
Signal Ground |
I |
- |
| 2 |
0.75 |
RD/GN |
1840 |
Battery Positive Voltage |
I |
- |
| 3 |
0.5 |
VT/BK |
2139 |
Run/Crank Ignition 1 Voltage |
I |
- |
| 4 |
0.5 |
BU/WH |
3977 |
Accessory Wakeup Serial Data 2 |
I |
- |
| 5 |
- |
- |
- |
Not Occupied |
- |
- |
| 6 |
0.5 |
BU/YE |
6105 |
High Speed GMLAN Serial Data (+) 2 |
I |
- |
| 7 |
0.5 |
WH |
6106 |
High Speed GMLAN Serial Data (-) 2 |
I |
- |
| 8 |
0.5 |
BU/YE |
6105 |
High Speed GMLAN Serial Data (+) 2 |
I |
- |
| 9 |
0.5 |
WH |
6106 |
High Speed GMLAN Serial Data (-) 2 |
I |
- |
| 10 - 19 |
- |
- |
- |
Not Occupied |
- |
- |
| 20 |
0.5 |
BU/YE |
6105 |
High Speed GMLAN Serial Data (+) 2 |
I |
- |
| 21 |
0.5 |
WH |
6106 |
High Speed GMLAN Serial Data (-) 2 |
I |
- |
| 22 - 28 |
- |
- |
- |
Not Occupied |
- |
- |
| 29 |
0.5 |
VT/BU |
6091 |
Crankshaft Position Sensor Replicated Signal |
I |
- |
| 30 |
- |
- |
- |
Not Occupied |
- |
- |
| 31 |
0.5 |
BU |
2500 |
High Speed GMLAN Serial Data (+) 1 |
I |
- |
| 32 |
0.5 |
WH |
2501 |
High Speed GMLAN Serial Data (-) 1 |
I |
- |
| 33 |
0.5 |
BU/BK |
7493 |
High Speed GMLAN Serial Data (+)3 |
I |
- |
| 34 |
0.5 |
WH |
7494 |
High Speed GMLAN Serial Data (-)3 |
I |
- |
| 35 - 44 |
- |
- |
- |
Not Occupied |
- |
- |
| 45 |
0.5 |
BU |
2500 |
High Speed GMLAN Serial Data (+) 1 |
I |
- |
| 46 |
0.5 |
WH |
2501 |
High Speed GMLAN Serial Data (-) 1 |
I |
- |
| 47 |
0.5 |
BU/BK |
7493 |
High Speed GMLAN Serial Data (+)3 |
I |
- |
| 48 |
0.5 |
WH |
7494 |
High Speed GMLAN Serial Data (-)3 |
I |
- |
| 49 |
- |
- |
- |
Not Occupied |
- |
- |
| 50 |
0.75 |
RD/WH |
2040 |
Battery Positive Voltage |
I |
- |
| 51 |
0.75 |
BK/WH |
151 |
Signal Ground |
I |
- |
| 52 - 56 |
- |
- |
- |
Not Occupied |
- |
- |