LEMON Manuals: Even more car manuals for everyone: 1960-2025
Home >> Buick >> 2018 >> Enclave Base >> Repair and Diagnosis >> Electrical >> Wiring Diagrams >> Component Connector End Views (K84 - M109LR) >> Component Connector End Views >> K99 Steering Column Position Control Module X1 (N38)
April 5, 2026: LEMON Manuals is launched! Read the announcement.

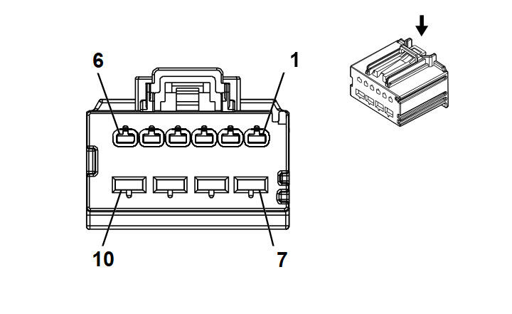
K99 Steering Column Position Control Module X1 (N38)

GM3791446
Connector Part Information
  • Harness Type: Instrument Panel
  • OEM Connector: 13582823
  • Service Connector: 13582823
  • Description: 10-Way F 1.5, 2.8 Series (BK)
Terminal Part Information

Terminal Type ID Terminated Lead Diagnostic Test Probe Terminal Removal Tool Service Terminal Tray Name Core Crimp Insulation Crimp
I 13575809 J-35616-2A (GY) J-38125-217 Not Available Not Available Not Available Not Available
II 13580025 J-35616-4A (PU) J-38125-11A 7116-4111-02 Yazaki 9 C A
Pin Size Color Circuit Function Terminal Type ID Option
1 0.35 BK 1550 Ground I -
2 0.35 GN/WH 7530 Local Interconnect Network Serial Data Bus 8 I N38
3 0.35 GN/BN 2095 Steering Column Tilt and Telescope Rearward Switch Signal I -
4 0.35 BN/GY 2096 Steering Column Tilt and Telescope Up Switch Signal I -
5 0.35 YE/BN 2097 Steering Column Tilt and Telescope Down Switch Signal I -
6 0.35 BU/YE 2094 Steering Column Tilt and Telescope Forward Switch Signal I -
7 1 RD/BN 3640 Battery Positive Voltage II -
8 1 BK 1750 Ground II -
9 - 10 - - - Not Occupied - -