LEMON Manuals: Even more car manuals for everyone: 1960-2025
Home >> Buick >> 2018 >> Enclave Essence, AWD >> Repair and Diagnosis >> External Pages >> Different car >> Section 120 (Component Connector End Views - K40D X4 To M6L) >> Component Connector End Views >> K40D Seat Memory Control Module - Driver X4 (AAB)
April 5, 2026: LEMON Manuals is launched! Read the announcement.

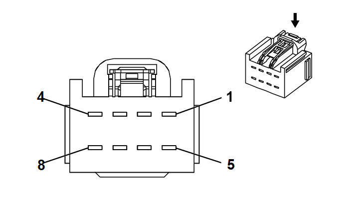
K40D Seat Memory Control Module - Driver X4 (AAB)

WARNING: This page is about a different car, the 2017 Chevrolet Corvette. However, it is still accessible from the selected car via links, so may be relevant.
GM2832199
Connector Part Information
  • Harness Type: Driver Seat Back
  • OEM Connector: 7283-3243-40
  • Service Connector: Service by Harness - See Part Catalog
  • Description: 8-Way F 2.8 Series (L-GY)
Terminal Part Information

Terminal Type ID Terminated Lead Diagnostic Test Probe Terminal Removal Tool Service Terminal Tray Name Core Crimp Insulation Crimp
I Not Required J-35616-35 (VT) No Tool Required Not Required Not Required Not Required Not Required
Pin Size Color Circuit Function Terminal Type ID Option
1 - 7 - - - Not Occupied - -
8 0.5 YE 4605 Driver Seat Status Switch Voltage Reference I -