LEMON Manuals: Even more car manuals for everyone: 1960-2025
Home >> Buick >> 2018 >> LaCrosse Base >> Repair and Diagnosis (Single Page) >> Quick Lookups >> Wiring Diagrams >> Component & Inline Harness Connector End Views, Ground Views, Wiring Schematics And Component Locations - Miscellaneous >> Component And Inline Harness Connector End Views, Wiring Schematics, Ground Views And Component Locations - Miscellaneous >> Component Connector End Views >> S124 Stop/Start Select Switch
April 5, 2026: LEMON Manuals is launched! Read the announcement.

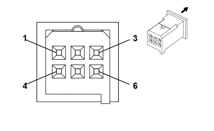
S124 Stop/Start Select Switch

GM1697500Courtesy of GENERAL MOTORS COMPANY
Connector Part Information
  • Harness Type: Instrument Panel
  • OEM Connector: 10768368
  • Service Connector: 88988105
  • Description: 6-Way F 0.64 Micro-Quadlock Series (BK)
Terminal Part Information

Terminal Type ID Terminated Lead Diagnostic Test Probe Terminal Removal Tool Service Terminal Tray Name Core Crimp Insulation Crimp
I Not Required J-35616-64B (LT BU) No Tool Required Not Required Not Required Not Required Not Required
Pin Size Color Circuit Function Terminal Type ID Option
1 0.35 BK 1650 Ground I -
2 0.35 YE 6817 LED Backlight Dimming Control I -
3 0.35 BU 1111 Auto Stop Start Switch Signal I -
4 0.35 GN 1110 Auto Stop Start Indicator Control I -
5 - - - Not Occupied - -
6 0.35 WH 6816 Indicator Dimming Control I -