LEMON Manuals: Even more car manuals for everyone: 1960-2025
Home >> Buick >> 2018 >> Regal Base >> Repair and Diagnosis (Single Page) >> Quick Lookups >> Wiring Diagrams >> Component Connector End Views (P17-S66P) >> Component Connector End Views >> P17 Info Display Module X2 (IOS/IOT)
April 5, 2026: LEMON Manuals is launched! Read the announcement.

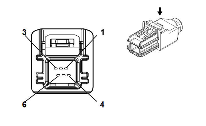
P17 Info Display Module X2 (IOS/IOT)

GM4806625Courtesy of GENERAL MOTORS COMPANY
Connector Part Information
  • Harness Type: Instrument Panel USB
  • OEM Connector: 13513606
  • Service Connector: Service by Cable Assembly - See Part Catalog
  • Description: 6-Way M HSAL-2 Series (BK)
Terminal Part Information

Terminal Type ID Terminated Lead Diagnostic Test Probe Terminal Removal Tool Service Terminal Tray Name Core Crimp Insulation Crimp
I Not Required No Tool Required No Tool Required Not Required Not Required Not Required Not Required
Pin Size Color Circuit Function Terminal Type ID Option
- - USB - USB Serial Data I -