LEMON Manuals: Even more car manuals for everyone: 1960-2025
Home >> Buick >> 2019 >> Envision Base >> Repair and Diagnosis >> External Pages >> Different car >> Section 45 (Component Connector End Views (A3L-B174G)) >> Component Connector End Views >> B160 Windshield Temperature and Inside Moisture Sensor (ASV-CE1)
April 5, 2026: LEMON Manuals is launched! Read the announcement.

B160 Windshield Temperature and Inside Moisture Sensor (ASV-CE1)

WARNING: This page is about a different car, the 2018 Buick Envision. However, it is still accessible from the selected car via links, so may be relevant.
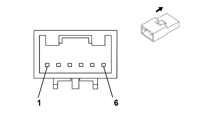
GM2839920Courtesy of GENERAL MOTORS COMPANY
Connector Part Information
  • Harness Type: Body
  • OEM Connector: 19153436
  • Service Connector: 19299681
  • Description: 6-Way M 0.64 Kaizen Series (BK)
Terminal Part Information

Terminal Type ID Terminated Lead Diagnostic Test Probe Terminal Removal Tool Service Terminal Tray Name Core Crimp Insulation Crimp
I Not Required J-35616-65B (LT BU) No Tool Required Not Required Not Required Not Required Not Required
Pin Size Color Circuit Function Terminal Type ID Option
1 0.35 YE/RD 597 5V Reference I -CE1
2 0.35 GY/BU 7564 Humidity Sensor Signal I -CE1
3 0.35 BK/BU 7566 Humidity/Windscreen Temp Sensor Low Reference I -CE1
4 0.35 GY/GN 7565 Windscreen Temp Sensor Signal I -CE1
5 0.35 YE/BU 3197 Humidity Temperature Sensor Signal I -CE1
6 - - - Not Occupied - -