LEMON Manuals: Even more car manuals for everyone: 1960-2025
Home >> Buick >> 2019 >> Envision Base >> Repair and Diagnosis >> External Pages >> Different car >> Section 48 (Component Connector End Views (K36-K182)) >> Component Connector End Views >> K40D Seat Memory Control Module - Driver X2 (A45)
April 5, 2026: LEMON Manuals is launched! Read the announcement.

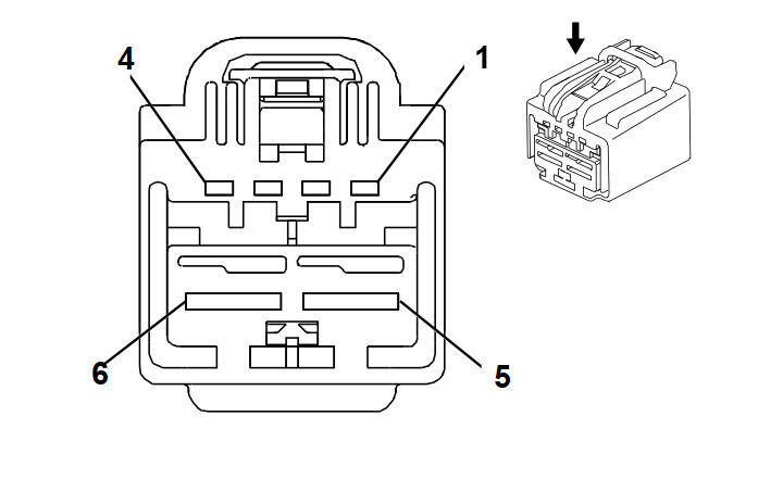
K40D Seat Memory Control Module - Driver X2 (A45)

WARNING: This page is about a different car, the 2018 Buick Envision. However, it is still accessible from the selected car via links, so may be relevant.
GM1798802Courtesy of GENERAL MOTORS COMPANY
Connector Part Information
  • Harness Type: Driver Seat
  • OEM Connector: 15226104
  • Service Connector: Service by Harness - See Part Catalog
  • Description: 6-Way F YESC Kaizen Series (BK)
Terminal Part Information

Terminal Type ID Terminated Lead Diagnostic Test Probe Terminal Removal Tool Service Terminal Tray Name Core Crimp Insulation Crimp
I Not Required Not Available No Tool Required Not Required Not Required Not Required Not Required
Pin Size Color Circuit Function Terminal Type ID Option
1 0.35 GN 5060 Low Speed GMLAN Serial Data I -
2 - - - Not Occupied - -
3 0.35 GN/WH 7530 Local Interconnect Network Serial Data Bus 8 I -
4 - - - Not Occupied - -
5 2.0 BK 2350 Ground I -
6 - - - Not Occupied - -