LEMON Manuals: Even more car manuals for everyone: 1960-2025
Home >> Buick >> 2019 >> Envision Base >> Repair and Diagnosis >> External Pages >> Different car >> Section 49 (Component Connector End Views (K188-S38)) >> Component Connector End Views >> M51D Seat Horizontal Motor - Driver
April 5, 2026: LEMON Manuals is launched! Read the announcement.

M51D Seat Horizontal Motor - Driver

WARNING: This page is about a different car, the 2018 Buick Envision. However, it is still accessible from the selected car via links, so may be relevant.
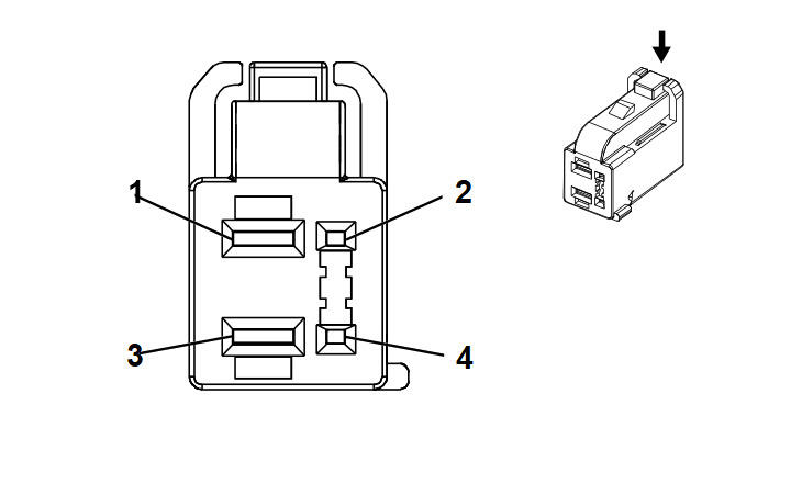
GM3683652Courtesy of GENERAL MOTORS COMPANY
Connector Part Information
  • Harness Type: Driver Seat
  • OEM Connector: 13583828
  • Service Connector: Service by Harness - See Part Catalog
  • Description: 4-Way F 0.64, 2.8 Series (BK)
Terminal Part Information

Terminal Type ID Terminated Lead Diagnostic Test Probe Terminal Removal Tool Service Terminal Tray Name Core Crimp Insulation Crimp
I Not Required Not Available No Tool Required Not Required Not Required Not Required Not Required
Pin Size Color Circuit Function Terminal Type ID Option
1 1.5 GY/GN 284 Driver Power Seat Horizontal Motor Rearward Control I -
2 0.35 GN 569 Memory Seat Horizontal Motor Position Sensor Signal I -
3 2.0 YE/BU 285 Driver Power Seat Horizontal Motor Forward Control I -
4 0.35 WH/RD 3298 Memory Sensor High Reference 2 I -