LEMON Manuals: Even more car manuals for everyone: 1960-2025
Home >> Buick >> 2020 >> Encore Base >> Repair and Diagnosis >> External Pages >> Different car >> Section 7 (Component Connector End Views (K20 (X2)-M51D)) >> Component Connector End Views (Chevrolet) >> K43 Power Steering Control Module X1
April 5, 2026: LEMON Manuals is launched! Read the announcement.

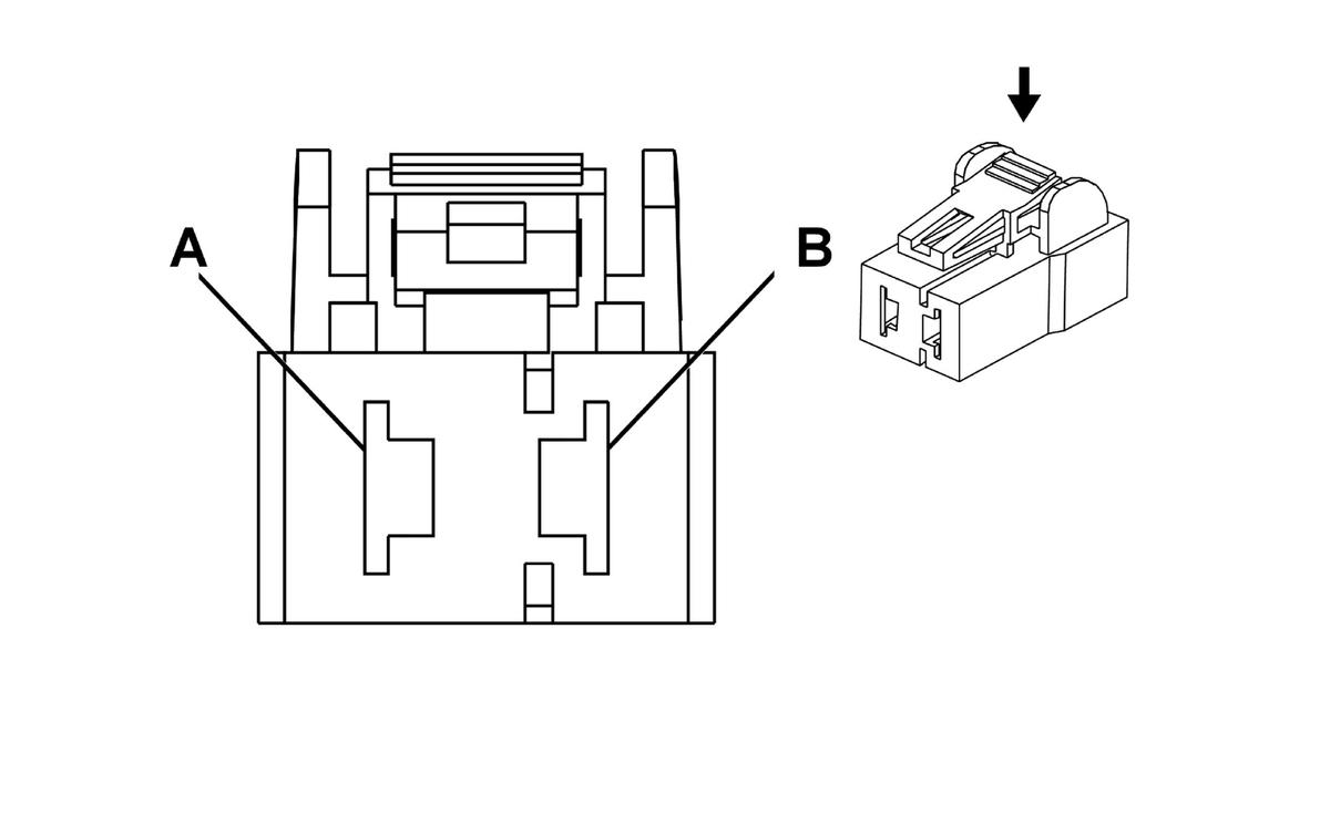
K43 Power Steering Control Module X1

WARNING: This page is about a different car, the 2020 Chevrolet Trax. However, it is still accessible from the selected car via links, so may be relevant.
GM2713935Courtesy of GENERAL MOTORS COMPANY
Connector Part Information
  • Harness Type: Body
  • OEM Connector: 45-40312
  • Service Connector: Service by Harness - See Part Catalog
  • Description: 2-Way F 8.0 Series, Sealed (BK)
Terminal Part Information

Terminal Type ID Terminated Lead Diagnostic Test Probe Terminal Removal Tool Service Terminal Tray Name Core Crimp Insulation Crimp
I Not Required J-35616-44 (YE) No Tool Required Not Required Not Required Not Required Not Required
Pin Size Color Circuit Function Terminal Type ID Option
A 8 RD/BN 202 Battery Positive Voltage 2 I NJ1
B 8 BK 650 Ground 6 I NJ1