LEMON Manuals: Even more car manuals for everyone: 1960-2025
Home >> Buick >> 2020 >> Envision Base >> Repair and Diagnosis >> External Pages >> Different car >> Section 11 (Component Connector End Views (A7-B52C)) >> Component Connector End Views >> B10B Ambient Light/Sunload Sensor
April 5, 2026: LEMON Manuals is launched! Read the announcement.

B10B Ambient Light/Sunload Sensor

WARNING: This page is about a different car, the 2018 Buick Regal TourX and 2018 Buick Regal. However, it is still accessible from the selected car via links, so may be relevant.
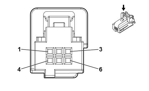
GM2282896
Connector Part Information
  • Harness Type: Instrument Panel
  • OEM Connector: 13590886
  • Service Connector: 19333315
  • Description: 6-Way F 0.64 Micro-Quadlock Series (BK)
Terminal Part Information

Terminal Type ID Terminated Lead Diagnostic Test Probe Terminal Removal Tool Service Terminal Tray Name Core Crimp Insulation Crimp
I Not Required J-35616-64B (LT BU) No Tool Required Not Required Not Required Not Required Not Required
Pin Size Color Circuit Function Terminal Type ID Option
1 0.13 GY 1120 Solar Sensor Pulsed Voltage Reference I CJ2
2 - - - Not Occupied - -
3 0.13 WH 278 Ambient Light Sensor Signal I -
4 0.13 BU 734 Inside Air Temperature Sensor Signal I CJ2
5 0.13 GY 728 Security Indicator Control I -
6 0.13 BN 7567 Solar Sensor Low Reference I CJ2