LEMON Manuals: Even more car manuals for everyone: 1960-2025
Home >> Buick >> 2020 >> Envision Base >> Repair and Diagnosis >> External Pages >> Different car >> Section 245 (Component Connector End Views (K20 (X1)-K68)) >> Component Connector End Views >> K20 Engine Control Module X1 (LTG+MRC)
April 5, 2026: LEMON Manuals is launched! Read the announcement.

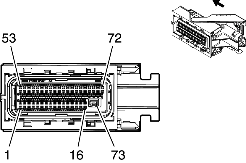
K20 Engine Control Module X1 (LTG+MRC)

WARNING: This page is about a different car, the 2020 Buick Regal TourX, 2020 Buick Regal, 2019 Buick Regal TourX, and 2019 Buick Regal. However, it is still accessible from the selected car via links, so may be relevant.
GM5146717Courtesy of GENERAL MOTORS COMPANY
Connector Part Information
  • Harness Type:Engine
  • OEM Connector: 35061507
  • Service Connector: 13574946
  • Description: 73 -Way F 0.64 MQS, 2.8 APEX Series, Sealed (BU)
Terminal Part Information

Terminal Type ID Terminated Lead Diagnostic Test Probe Terminal Removal Tool
I 135877518 J-35616-35 (VT) J-38125-215A
II 19351723 J-35616-64B (LT BU) J-38125-215A
III 19355737 J-35616-64B (LT BU) J-38125-215A
Pin Size Color Circuit Function Terminal Type ID Option
1 - 4 - - - Not Occupied - -
5 0.35 BU / BN 4498 High Speed GMLAN Serial Data [+] 7 III -
6 0.35 WH 4499 High Speed GMLAN Serial Data [-] 7 III -
7 0.5 WH 7494 High Speed GMLAN Serial Data [-] 3 II -
8 0.5 BU / BK 7493 High Speed GMLAN Serial Data [+] 3 II -
9 0.5 BU 2500 High Speed GMLAN Serial Data [+] 1 II -
10 0.5 WH 2501 High Speed GMLAN Serial Data [-] 1 II -
11 0.35 BN / RD 1274 Accelerator Pedal Position 5V Reference 2 III -
12 0.35 WH / RD 1164 Accelerator Pedal Position 5V Reference 1 III -
13 0.5 VT / YE 5985 Accessory Wake-Up Serial Data II -
14 0.5 VT / GN 439 Run/Crank Ignition 1 Voltage II -
15 0.5 RD / WH 140 Battery Positive Voltage II -
16 0.75 VT / BU 5292 Powertrain Main Relay Fused Supply 3 II -
17 0.5 YE 4063 Hood Status A Signal II -
18 0.5 GY / RD 3053 Turbo Intake Pressure Sensor High Reference Bank 1 II -
19 - 24 - - - Not Occupied - -
25 0.35 BK / YE 5382 Brake Position Sensor Low Reference III -
26 - - - Not Occupied - -
27 0.35 BK / VT 1272 Accelerator Pedal Position Low Reference 2 III -
28 0.35 BK / BU 1271 Accelerator Pedal Position Low Reference 1 III -
29 - 31 - - - Not Occupied - -
32 0.35 YE / VT 6030 Brake Vacuum Sensor Signal III -
33 0.35 GN / WH 1162 Accelerator Pedal Position Signal 2 III -
34 0.5 GN / WH 492 Mass Air Flow Sensor Signal II -
35 - 36 - - - Not Occupied - -
37 0.35 BN / RD 2700 A/C Pressure Sensor 5V Reference III -
38 - 40 - - - Not Occupied - -
41 0.35 WH / RD 5381 Brake Position Sensor 5V Reference III -
42 - 43 - - - Not Occupied - -
44 0.35 YE / VT 4325 Starter Pinion Solenoid Relay Control III -
45 0.35 YE / WH 1161 Accelerator Pedal Position Signal 1 III -
46 - - - Not Occupied - -
47 0.5 BU / GY 636 Outside Ambient Air Temperature Sensor Signal II -
48 0.5 WH / BU 6289 Induction Air Temperature Sensor Signal II -
49 0.5 WH / GY 1786 Transmission Park/Neutral Signal 1 II -
50 0.35 WH / BU 6311 Cruise/ETC/TCC Brake Signal III -
51 0.5 VT / BU 5291 Powertrain Main Relay Fused Supply 2 II -
52 0.35 WH 2368 Cooling Fan Control Signal III -
53 - - - Not Occupied - -
54 0.35 WH / GY 459 A/C Compressor Clutch Relay Control III -
55 - 56 - - - Not Occupied - -
57 0.35 GN 380 A/C Refrigerant Pressure Sensor Signal III -
58 - 59 - - - Not Occupied - -
60 0.5 BN / GY 4008 Humidity Sensor Signal II -
61 0.35 WH / GN 5380 Brake Position Sensor Signal III -
62 - 63 - - - Not Occupied - -
64 0.35 GN / GY 465 Fuel Pump Primary Relay Control III -
65 - - - Not Occupied - -
66 0.35 GY 5127 After Boil Heater Relay Control III -
67 0.35 YE 5991 Powertrain Relay Coil Control III -
68 - 69 - - - Not Occupied - -
70 0.35 YE / BK 625 Starter Enable Relay Control III -
71 0.35 BN / WH 419 Check Engine Indicator Control III -
72 - - - Not Occupied - -
73 2.5 VT / BU 5290 Powertrain Main Relay Fused Supply 1 I -