LEMON Manuals: Even more car manuals for everyone: 1960-2025
Home >> Buick >> 2021 >> Envision Preferred, AWD >> Repair and Diagnosis (Single Page) >> Quick Lookups >> Wiring Diagrams >> Component Connector End Views (K104D-M104RL) >> Component Connector End Views >> K124 Image Processing Module X2 (UGN)
April 5, 2026: LEMON Manuals is launched! Read the announcement.

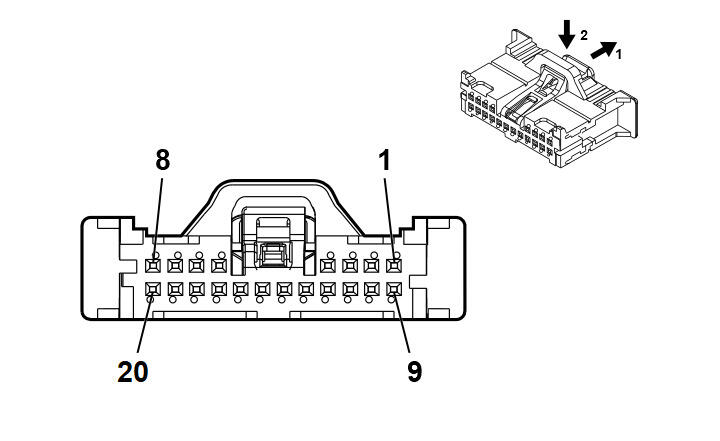
K124 Image Processing Module X2 (UGN)

GM5360760Courtesy of GENERAL MOTORS COMPANY
Connector Part Information
  • Harness Type: Body
  • OEM Connector: 13529922
  • Service Connector: 13529922
  • Description: 20 - Way F 050 CTS Series (GY)
Terminal Part Information

Terminal Type ID Terminated Lead Diagnostic Test Probe Terminal Removal Tool
I 19333221 EL-35616-58 (BK) EL-38125-58
Pin Size Color Circuit Function Terminal Type ID Option
1 - - - Not Occupied - -
2 0.35 WH 4978 AUTOSAR CAN Bus [-] 2 Serial Data I UGN
3 0.35 BU / YE 4979 AUTOSAR CAN Bus [+] 2 Serial Data I UGN
4 - - - Not Occupied - -
5 0.35 WH / GY 4104 AUTOSAR CAN Bus [-] 8 Serial Data I UGN
6 - 9 - - - Not Occupied - -
10 0.35 WH 4978 AUTOSAR CAN Bus [-] 2 Serial Data I -
11 0.35 BU / YE 4979 AUTOSAR CAN Bus [+] 2 Serial Data I -
12 - 16 - - - Not Occupied - -
17 0.35 BU / GY 4105 AUTOSAR CAN Bus [+] 8 Serial Data I UGN
18 - 20 - - - Not Occupied - -