LEMON Manuals: Even more car manuals for everyone: 1960-2025
Home >> Buick >> 2021 >> Envision Preferred, AWD >> Repair and Diagnosis (Single Page) >> Quick Lookups >> Wiring Diagrams >> Component Connector End Views (K104D-M104RL) >> Component Connector End Views >> K212 Gear Shift Control Module
April 5, 2026: LEMON Manuals is launched! Read the announcement.

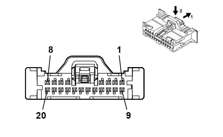
K212 Gear Shift Control Module

GM5200955Courtesy of GENERAL MOTORS COMPANY
Connector Part Information
  • Harness Type: Floor Console
  • OEM Connector: 13529921
  • Service Connector: Service by Harness - See Part Catalog
  • Description: 20 - Way F Mini 50 Series (BK)
Terminal Part Information

Terminal Type ID Terminated Lead Diagnostic Test Probe Terminal Removal Tool
I Not required EL-35616-58 (BK) No Tool Required
Pin Size Color Circuit Function Terminal Type ID Option
1 0.35 BU / BK 4977 AUTOSAR CAN Bus [+] 3 Serial Data I -
2 0.35 BU / BK 4977 AUTOSAR CAN Bus [+] 3 Serial Data I -
3 0.35 WH 4976 AUTOSAR CAN Bus [-] 3 Serial Data I -
4 0.35 WH 4976 AUTOSAR CAN Bus [-] 3 Serial Data I -
5 0.35 WH 4055 Private Serial Data Powertrain CAN Bus [+] Serial Data I -
6 0.35 WH 4055 Private Serial Data Powertrain CAN Bus [+] Serial Data I -
7 0.35 BU / GY 4054 Private Serial Data Powertrain CAN Bus [-] Serial Data I -
8 0.35 BU / GY 4054 Private Serial Data Powertrain CAN Bus [-] Serial Data I -
9 0.35 RD / GY 7040 Battery Positive Voltage I -
10 - 15 - - - Not Occupied - -
16 0.35 VT / GN 4320 Powertrain Sensor Bus Enable I -
17 0.35 VT / BK 1239 Run/Crank Ignition 1 Voltage I -
18 - 19 - - - Not Occupied - -
20 0.35 BK 1850 Ground I -