LEMON Manuals: Even more car manuals for everyone: 1960-2025
Home >> Buick >> 2021 >> Envision Preferred, AWD >> Repair and Diagnosis (Single Page) >> Quick Lookups >> Wiring Diagrams >> Component Connector End Views (K104D-M104RL) >> Component Connector End Views >> K219 Lighting Control Module X3
April 5, 2026: LEMON Manuals is launched! Read the announcement.

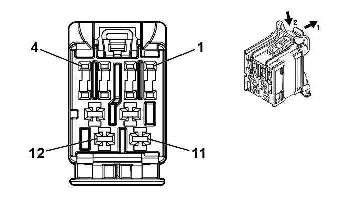
K219 Lighting Control Module X3

GM5203797Courtesy of GENERAL MOTORS COMPANY
Connector Part Information
  • Harness Type: Body
  • OEM Connector: 13509989
  • Service Connector: 13509989
  • Description: 12 - Way F 1.2, 2.8 Series (GN)
Terminal Part Information

Terminal Type ID Terminated Lead Diagnostic Test Probe Terminal Removal Tool
I 84729890 J-35616-12 (BU) J-38125-215A
Pin Size Color Circuit Function Terminal Type ID Option
1 0.75 BU / BN 7539 Right Front DRL Control I -
2 0.5 WH / YE 7541 Right Rear Stop Lamp Control I -
3 - - - Not Occupied - -
4 0.5 BU / GN 1253 Right Front Park Lamp Control I -
5 - - - Not Occupied - -
6 0.5 BU / VT 1335 Right Rear Turn Signal Lamp Control 2 I -
7 0.5 GN / WH 1324 Backup Lamp Control I -
8 - - - Not Occupied - -
9 0.75 RD / BN 4240 Battery Positive Voltage I -
10 0.75 RD / GY 4140 Battery Positive Voltage I -
11 - - - Not Occupied - -
12 0.5 BN / GY 6995 Right Rear Park Lamp Control I -