LEMON Manuals: Even more car manuals for everyone: 1960-2025
Home >> Cadillac >> 1989 >> Seville Base >> Repair and Diagnosis >> Engine Performance >> System >> DFI ECM Tests W/Codes >> Testing >> ECM Data Test
April 5, 2026: LEMON Manuals is launched! Read the announcement.

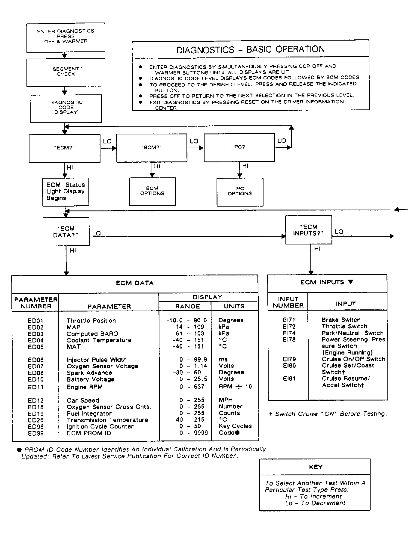
ECM Data Test

Fig 1: ECM Data Test, Input Test, Output Test & Fixed Spark Mode
G111711Courtesy of GENERAL MOTORS CORP.