LEMON Manuals: Even more car manuals for everyone: 1960-2025
Home >> Cadillac >> 1994 >> DeVille Base >> Repair and Diagnosis >> Engine Performance >> System >> Engine Controls - Tests W/Codes - 4.9L >> Pcm Code Charts >> Code P023, Ignition Control Circuit Problem >> Action
April 5, 2026: LEMON Manuals is launched! Read the announcement.

Code P023, Ignition Control Circuit Problem: Action

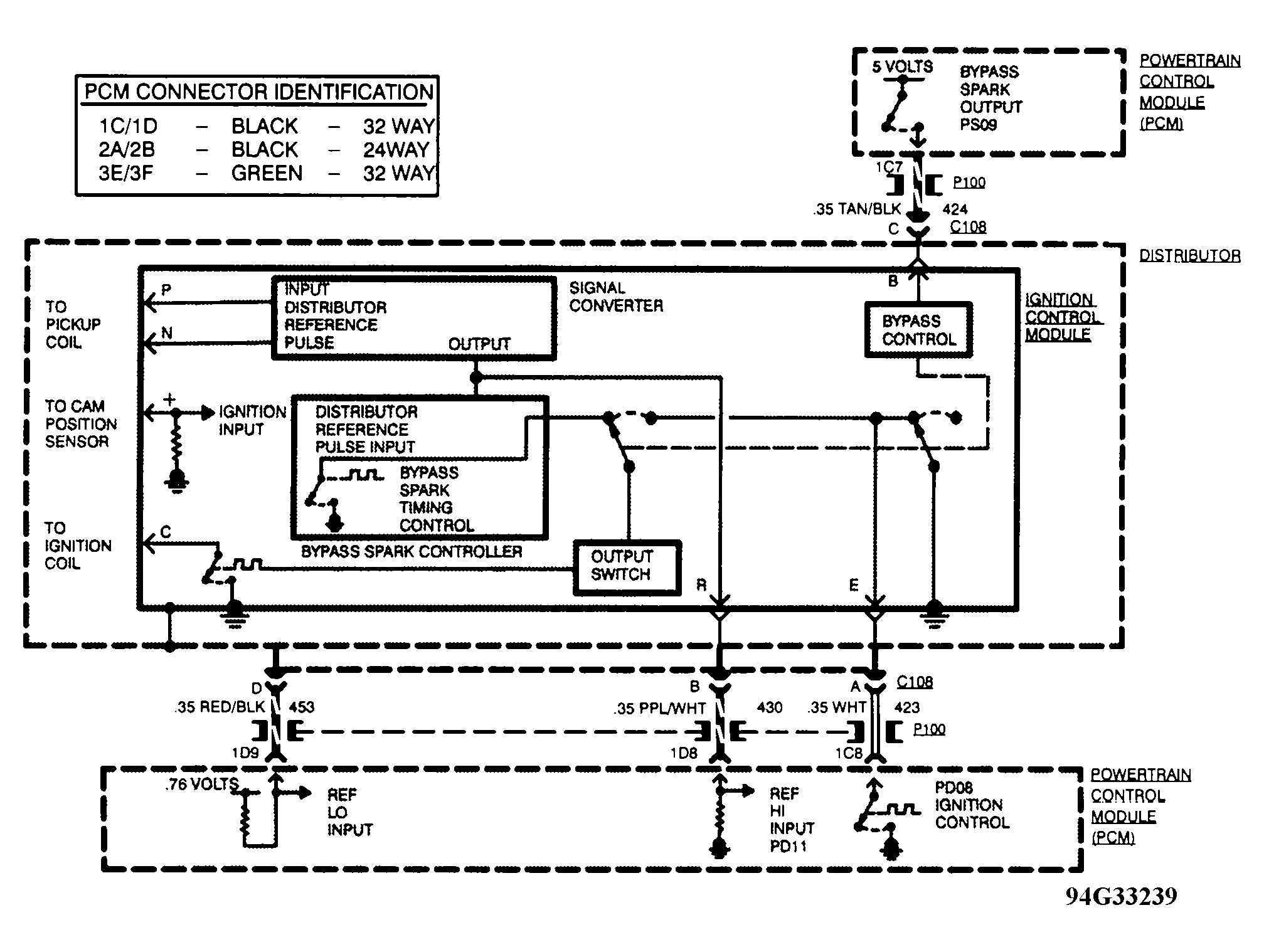
PCM turns on MIL and will not enable spark timing control. Engine will start and run on base timing. PCM disables EGR solenoid.

NOTE: Test numbers refer to numbers on diagnostic chart.
  1. When circuit No. 423 is shorted to ground, engine will start hard with long cranking periods. When PCM detects the grounded circuit, the by-pass line will be shifted low.
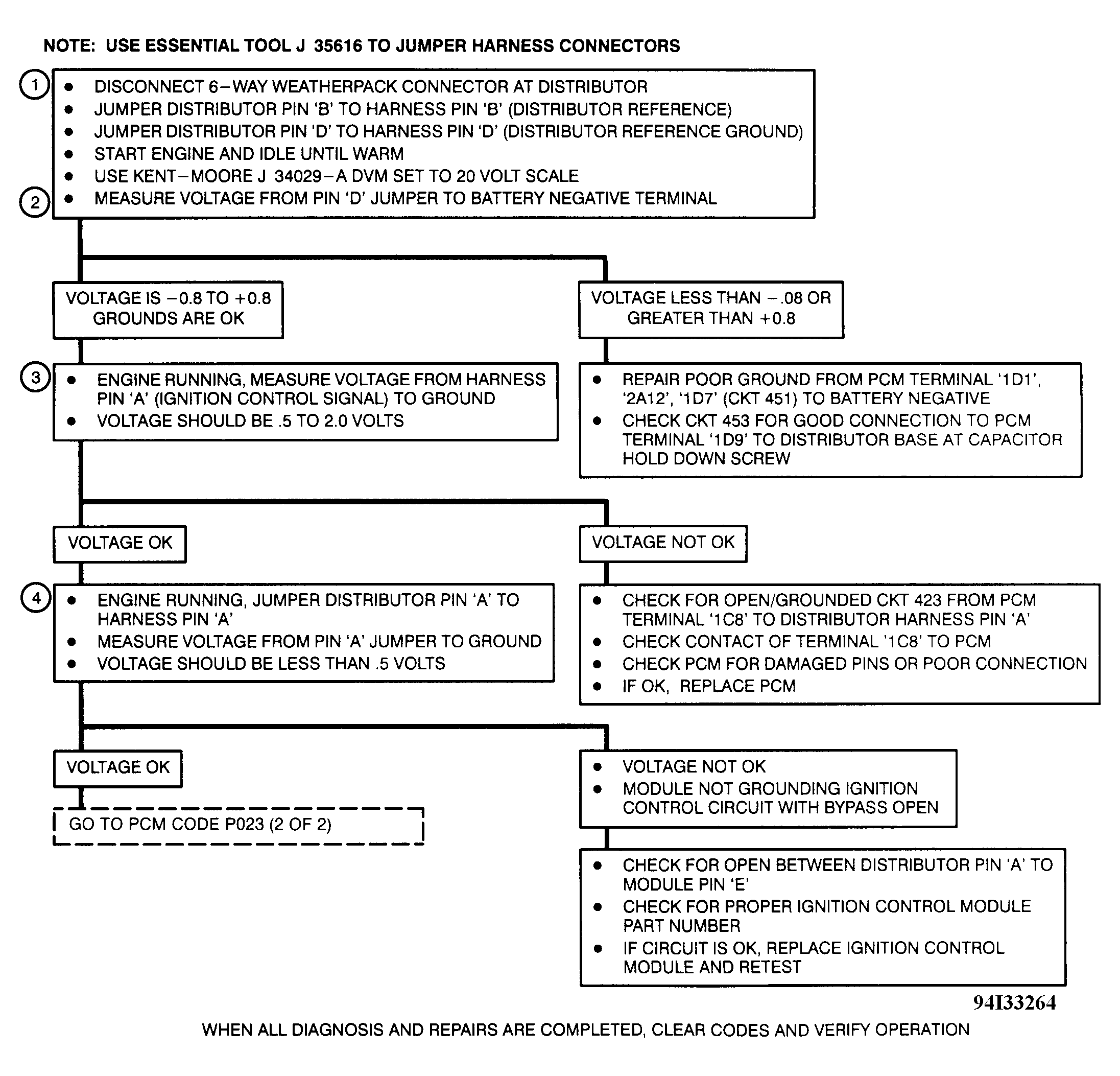
  2. With distributor reference and reference ground jumpered to PCM, engine will run on back-up spark. Checks for proper ground connection between PCM and engine and PCM and ignition control module.
  3. Checks if PCM is providing an ignition control output on circuit No. 423.
  4. Checks if ignition control module is able to ground ignition control signal with an open by-pass circuit.
  5. Checks if ignition control module is able to recognize a voltage on by-pass circuit and stop grounding ignition control (PCM controlled timing).
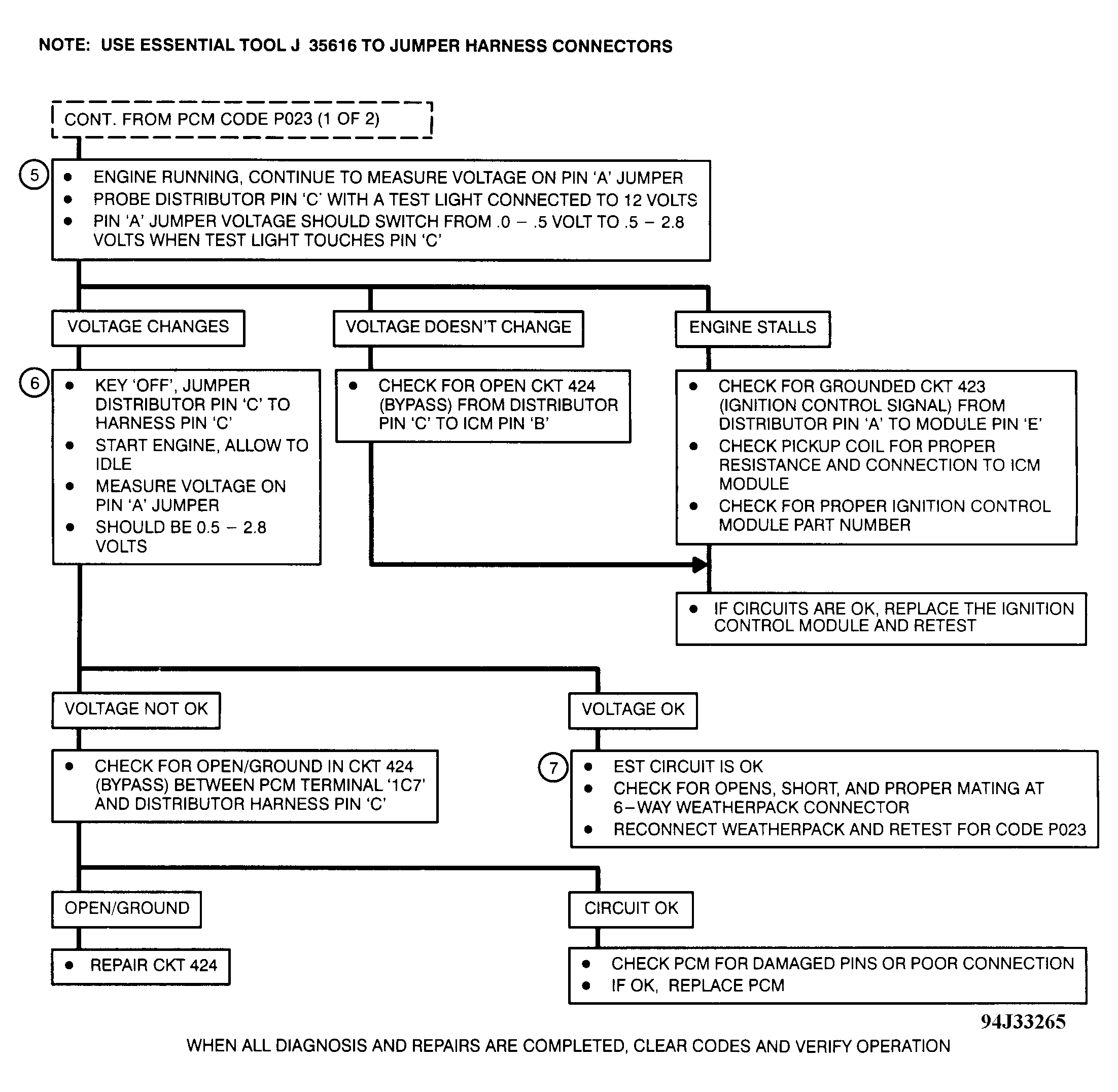
  6. Checks if by-pass signal being sent by PCM is being received by ignition control module and if module is interpreting by-pass voltage correctly by switching off the ground circuit to ignition control.
  7. If ignition control circuit is okay, then fault is in 6-way connector. Check for proper mating and proper pin contact. If connector is okay, clear codes and retest.
Fig 1: Code P023 Schematic (DeVille - 1 Of 2)
G94G33239Courtesy of GENERAL MOTORS CORP.
Fig 2: Code P023 Flow Chart (DeVille - 1 Of 2)
G94I33264Courtesy of GENERAL MOTORS CORP.
Fig 3: Code P023 Schematic (DeVille - 2 Of 2)
G94G33239Courtesy of GENERAL MOTORS CORP.
Fig 4: Code P023 Flow Chart (DeVille - 2 Of 2)
G94J33265Courtesy of GENERAL MOTORS CORP.