LEMON Manuals: Even more car manuals for everyone: 1960-2025
Home >> Cadillac >> 2006 >> STS Base, 4.6 A, AWD >> Repair and Diagnosis >> Quick Lookups >> Wiring Diagrams >> OEM Connector End Views - Keyless Entry, Automatic Level Control, Power Door Systems, Navigation System, Engine Electrical, Instrument Panel, Gages, And Console, Shift Lock Control, Sir, Automatic Transmission, Stationary Windows >> Instrument Panel, Gages, and Console Connector End Views >> Instrument Panel Cluster (IPC) Connector End View
April 5, 2026: LEMON Manuals is launched! Read the announcement.

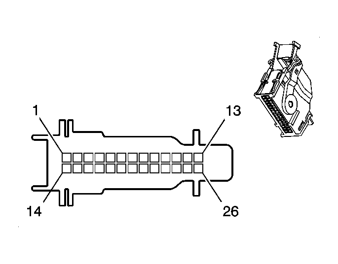
Instrument Panel Cluster (IPC) Connector End View

Fig 1: Instrument Panel Cluster (IPC) Connector
GM1468761Courtesy of GENERAL MOTORS CORP.
Instrument Panel, Gages, and Console Connector End Views

Connector Part Information 
  • OEM: 1326042-1
  • Service: 88987996
  • Description: 26-Way F 90 Series AMP (BK)
Terminal Part Information 
  • Pins: 1, 3, 5, 8, 9, 12, 13, 20, 2, 21
  • Terminal/Tray: 638551-1/16
  • Core/Insulation Crimp: Pins 1, 3, 5, 8, 9, 12, 13, 20 - J/J
  • Core/Insulation Crimp: Pins 2, 21 - K/K
  • Release Tool/Test Probe: 15315247/J-35616-64B (L-BU)
Instrument Panel Cluster (IPC)

Pin Wire Color Circuit No. Function
1 RD/WH 1440 Battery Positive Voltage
2 PK 239 Run/Crank Ignition 1 Voltage
3 D-GN 5060 Low Speed GMLAN Serial Data
4 - - Not Used
5 BK/WH 351 Ground
6-7 - - Not Used
8 PU 333 Brake Fluid Level Sensor Signal
9 BN/WH 419 Check Engine Indicator Control
10-11 - - Not Used
12 D-GN/WH 1358 Driver Information Center Switch Signal (w/o UV6)
13 BN 897 Driver Information Center Switch Low Reference (w/o UV6)
14-19 - - Not Used
20 D-BU 894 Driver Information Center Toggle Switch Signal (w/o UV6)
21 PU 5234 Passenger Seat Belt Indicator Control
22-26 - - Not Used