LEMON Manuals: Even more car manuals for everyone: 1960-2025
Home >> Cadillac >> 2007 >> Escalade EXT >> Repair and Diagnosis >> External Pages >> Different car >> Section 1920 (Wiring Systems And Power Management - Component Connector End Views - A/C Compressor Through Electronic Power Steering Module X1) >> Component Connector End Views >> Door Latch - Driver
April 5, 2026: LEMON Manuals is launched! Read the announcement.

Door Latch - Driver

WARNING: This page does not describe the selected car, but rather 8 other vehicles, including the 2011 GMC Yukon XL, 2011 GMC Yukon, 2011 Chevrolet Tahoe, 2011 Chevrolet Suburban, and 2011 Chevrolet Avalanche. However, it is still accessible from the selected car via links, so may be relevant.
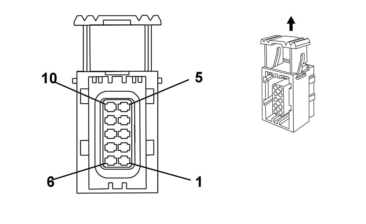
Fig 1: Door Latch - Driver Connector End View
GM845631Courtesy of GENERAL MOTORS CORP.
Door Latch - Driver

Pin Wire Circuit Function
1 - - Not Used
2 0.5 PU 5927 Driver Door Lock Motor Unlock Control
3 0.5 TN 5925 Driver Door Lock Motor Common
4-5 - - Not Used
6 0.35 GY/BK 745 Left Front Door Ajar Switch Signal
7 - - Not Used
8 0.35 YE 5942 Low Reference
9-10 - - Not Used
Connector Part Information
  • Harness Type: Driver Door
  • OEM Connector: 10768367
  • Service Connector: 88952463
  • Description: 10-Way F Series, Sealed (BK)
Terminal Part Information
  • Terminated Lead: 13575550
  • Release Tool: J-38125-559
  • Diagnostic Test Probe: J-35616-16 (L-GN)
  • Terminal/Tray: 15445905/23
  • Core/Insulation Crimp: J/J