LEMON Manuals: Even more car manuals for everyone: 1960-2025
Home >> Cadillac >> 2007 >> Escalade EXT >> Repair and Diagnosis >> External Pages >> Different car >> Section 1973 (Wiring Systems And Power Management - Component Connector End Views - Memory Seat Module (X5) To Yaw Sensor) >> Component Connector End Views >> Park Lamp- Right Front (Z75 without T4Q)
April 5, 2026: LEMON Manuals is launched! Read the announcement.

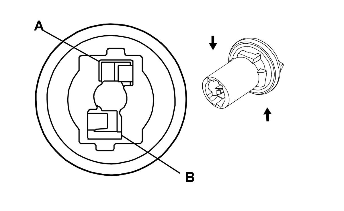
Park Lamp- Right Front (Z75 without T4Q)

WARNING: This page does not describe the selected car, but rather 8 other vehicles, including the 2012 GMC Yukon XL, 2012 GMC Yukon, 2012 Chevrolet Tahoe, 2012 Chevrolet Suburban, and 2012 Chevrolet Avalanche. However, it is still accessible from the selected car via links, so may be relevant.
GM1860844Courtesy of
Connector Part Information
  • Harness Type: Right Headlamp
  • OEM Connector: 7112-534-4WB
  • Service Connector: Service by Harness- See Part Catalog
  • Description: 2-Way Lamp Socket, Sealed (BK)
Terminal Part Information
  • Terminated Lead: Service by Harness- See Part Catalog
  • Release Tool: Not Available
  • Diagnostic Test Probe: Test Lamp
  • Terminal/Tray: Service by Harness- See Part Catalog
  • Core/Insulation Crimp: Not Available
Park Lamp- Right Front (Z75 without T4Q)

Pin Wire Circuit Function
A 0.8 BN 2609 Right Front Park Lamp Control
0.5 BN 2609 Right Front Park Lamp Control
B 0.8 BK 1750 Ground