LEMON Manuals: Even more car manuals for everyone: 1960-2025
Home >> Cadillac >> 2007 >> Escalade EXT >> Repair and Diagnosis >> External Pages >> Different car >> Section 663 (Computer/Integrating Systems) >> Component Locator >> Computer/Integrating Systems Connectors >> Body Control Module (BCM) - C2
April 5, 2026: LEMON Manuals is launched! Read the announcement.

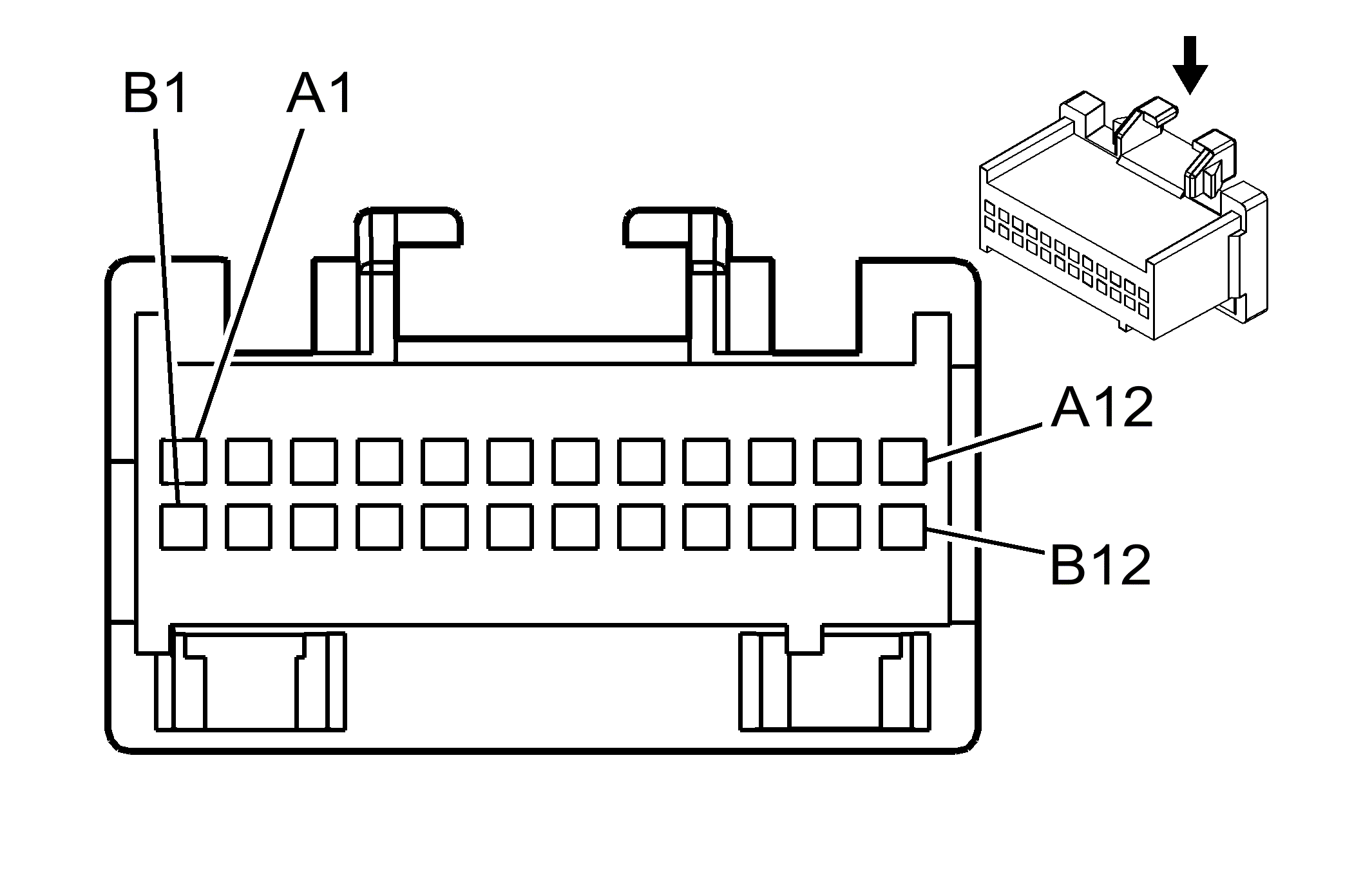
Body Control Module (BCM) - C2

WARNING: This page is about a different car, the 2006 GMC Sierra, 2006 GMC Cab & Chassis Sierra, 2006 Chevrolet Silverado, and 2006 Chevrolet Cab & Chassis Silverado. However, it is still accessible from the selected car via links, so may be relevant.
Body Control Module (BCM) - C2

GM73156Courtesy of GENERAL MOTORS CORP.
Connector Part Information
  • 12110088
  • 24-Way F Micro-Pack 100 Series (GY)
Pin Wire Color Circuit No. Function
A1 - - Not Used
A2 D-BU 1796 Steering Wheel Radio Controls Supply Voltage (UK3)
A3 D-BU 245 Passenger Door Lock Switch Unlock Control - Base
TN/BK 254 Rear Door Unlock Relay Control - Uplevel
A4 PK/WH 1970 Headlamp Low Beam Relay Control
A5 D-GN/WH 1317 Fog Lamp Relay Control
A6 L-BU 244 Passenger Door Lock Switch Lock Control - Base
GY/BK 255 Rear Door Lock Relay Control - Uplevel
A7 - - Not Used - Uplevel
L-GN 1391 Driver Door Unlock Relay Control - Base
A8 WH 193 Rear Defog Relay Control
A9-A10 - - Not Used
A11 RD/WH 812 12-Volt Reference
A12 OG 1140 Battery Positive Voltage
B1 BK/WH 1969 Headlamp High Beam Relay Control
B2 WH 1080 Park Lamp Relay Control
B3 D-BU 1353 RAP Supply Voltage
B4 L-GN/BK 592 DRL Relay Control
B5 PU 359 DRL Off Indicator Control
B6 BK/WH 1851 Ground
B7 BK 1835 Security System Sensor Low Reference
B8 PK 1348 Headlamp On Indicator Control
B9 BK 28 Horn Relay Control
B10 - - Not Used
B11 GY 1056 Dimming Potentiometer 5-Volt Reference
B12 L-GN 1037 BCM Class 2 Serial Data