LEMON Manuals: Even more car manuals for everyone: 1960-2025
Home >> Cadillac >> 2007 >> Escalade EXT >> Repair and Diagnosis >> External Pages >> Different car >> Section 663 (Computer/Integrating Systems) >> Component Locator >> Computer/Integrating Systems Connectors >> Body Control Module (BCM) - C5
April 5, 2026: LEMON Manuals is launched! Read the announcement.

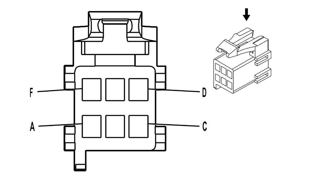
Body Control Module (BCM) - C5

WARNING: This page is about a different car, the 2006 GMC Sierra, 2006 GMC Cab & Chassis Sierra, 2006 Chevrolet Silverado, and 2006 Chevrolet Cab & Chassis Silverado. However, it is still accessible from the selected car via links, so may be relevant.
Body Control Module (BCM) - C5

GM304345Courtesy of GENERAL MOTORS CORP.
Connector Part Information
  • 12177195
  • 6-Way F Metri-Pack 150 Series (BK)
Pin Wire Color Circuit No. Function
A-C - - Not Used
D OG 2140 Battery Positive Voltage
E GY/BK 690 Courtesy Lamp Control
F L-GN 24 Backup Lamp Supply Voltage