LEMON Manuals: Even more car manuals for everyone: 1960-2025
Home >> Cadillac >> 2007 >> STS AWD V8-4.6L >> Repair and Diagnosis >> Diagrams >> Connector Views >> Engine Control Module
April 5, 2026: LEMON Manuals is launched! Read the announcement.

Engine Control Module



Engine Control Module Connector End Views

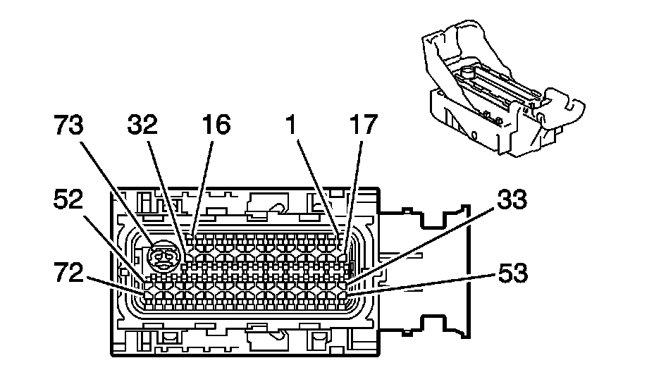
Engine Control Module (ECM) C1














Engine Control Module (ECM) C2









Engine Control Module (ECM) C2 (Pin 1 To 46):





Engine Control Module (ECM) C2 (Pin 47 To 73):






Engine Control Module (ECM) C3