LEMON Manuals: Even more car manuals for everyone: 1960-2025
Home >> Cadillac >> 2008 >> XLR Base >> Repair and Diagnosis (Single Page) >> Quick Lookups >> Electrical Component Locations >> Component Locations & Component Connector End Views >> Component Connector End Views >> Header Unlatch Switch
April 5, 2026: LEMON Manuals is launched! Read the announcement.

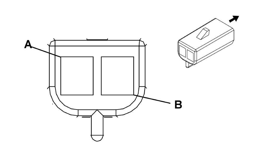
Header Unlatch Switch

Fig 1: Header Unlatch Switch Connector End View
GM646421Courtesy of GENERAL MOTORS CORP.
Header Unlatch Switch

Pin Wire Circuit Function
A 0.5 BN 5935 Header Unlatched Switch Signal
B 0.5 YE 743 Accessory Voltage
Connector Part Information 
  • OEM: 12059253
  • Service: 12125690
  • Description: 2-Way F Metri-Pack 150 Series (L-GN)
Terminal Part Information 
  • Terminal/Tray: 12064971/5
  • Core/Insulation Crimp: E/C
  • Release Tool/Test Probe: 12094429/J-35616-14 (GN)