LEMON Manuals: Even more car manuals for everyone: 1960-2025
Home >> Cadillac >> 2008 >> XLR Base >> Repair and Diagnosis >> Quick Lookups >> Electrical Component Locations >> Component Locations >> Front of Vehicle/Engine Compartment Component Views
April 5, 2026: LEMON Manuals is launched! Read the announcement.

Front of Vehicle/Engine Compartment Component Views

Fig 1: Front Of Vehicle Component View
GM1250720Courtesy of GENERAL MOTORS CORP.
Callout Component Name
1 Headlamp Assembly - Right
2 Turn Signal Lamp - Right Front
3 Headlamp Assembly - Left
4 Turn Signal Lamp - Left Front
5 Marker Lamp - Left Front
6 Headlamp Ballast - Left
7 Fog Lamp - Left Front
8 Park Lamp - Left Front (- T90), Position Lamp - Left Front (T90)
9 Park Lamp - Right Front (- T90), Position Lamp - Right Front (T90)
10 Fog Lamp - Right Front
11 Headlamp Ballast - Right
12 Marker Lamp - Right Front
13 Repeater Lamp - Right (T90) Left Side Similar
Fig 2: Front Of Vehicle Component View
GM1358217Courtesy of GENERAL MOTORS CORP.
Callout Component Name
1 Inflatable Restraint Front End Sensor - Right
2 Inflatable Restraint Front End Sensor - Left
Fig 3: Left Underside Of Hood Component View
GM1358076Courtesy of GENERAL MOTORS CORP.
Callout Component Name
1 Underhood Lamp Connector
2 Underhood Lamp
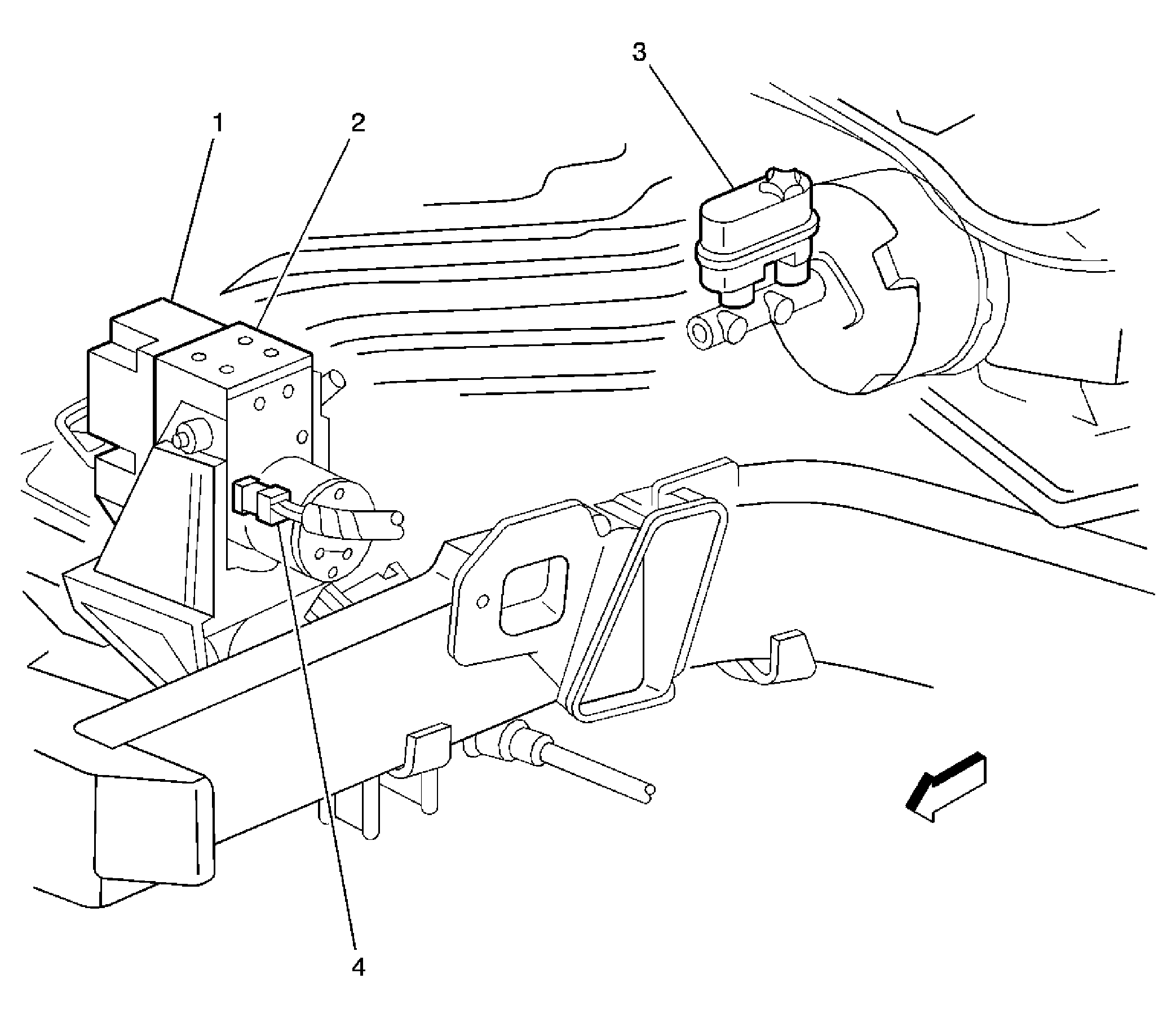
Fig 4: LF Of Engine Compartment Component View
GM1261626Courtesy of GENERAL MOTORS CORP.
Callout Component Name
1 Electronic Brake Control Module (EBCM)
2 Brake Pressure Modulator Valve (BPMV)
3 Brake Fluid Level Switch
4 Brake Fluid Pressure Sensor
Fig 5: Identifying Ambient Air Temperature Sensor
GM1358226Courtesy of GENERAL MOTORS CORP.
Callout Component Name
1 Ambient Air Temperature Sensor
Fig 6: Upper Rear Of Engine Compartment Component View
GM1358067Courtesy of GENERAL MOTORS CORP.
Callout Component Name
1 Windshield Wiper Motor
Fig 7: RR Of Engine Compartment Component View
GM1258722Courtesy of GENERAL MOTORS CORP.
Callout Component Name
1 Fuse Block - Underhood
2 Battery
Fig 8: Lower Right Rear Of Engine Compartment Component View
GM1358047Courtesy of GENERAL MOTORS CORP.
Callout Component Name
1 Transmission Control Module (TCM)
2 Transmission Control Module (TCM) Connector
3 Engine Control Module (ECM) Connectors
4 Engine Control Module (ECM)