LEMON Manuals: Even more car manuals for everyone: 1960-2025
Home >> Cadillac >> 2009 >> Escalade EXT >> Repair and Diagnosis (Single Page) >> External Pages >> Different car >> Section 516 (Wiring Systems And Power Management - Component Connector End Views - Electronic Steering Control Module X2 Through Memory Seat Module) >> Component Connector End Views >> Electronic Suspension Control (ESC) Module (Z55 or G69)
April 5, 2026: LEMON Manuals is launched! Read the announcement.

Electronic Suspension Control (ESC) Module (Z55 or G69)

WARNING: This page does not describe the selected car, but rather 8 other vehicles, including the 2011 GMC Yukon XL, 2011 GMC Yukon, 2011 Chevrolet Tahoe, 2011 Chevrolet Suburban, and 2011 Chevrolet Avalanche. However, it is still accessible from the selected car via links, so may be relevant.
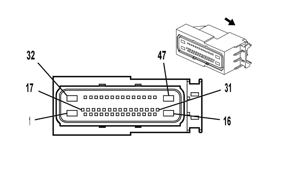
Fig 1: Electronic Suspension Control (ESC) Module (Z55 or G69) Connector End View
GM1711002Courtesy of GENERAL MOTORS CORP.
Electronic Suspension Control (ESC) Module (Z55 or G69)

Pin Wire Circuit Function
1 - - Not Used
2 0.5 PU/WH 1205 5-Volt Reference
3 0.5 PU 1211 5-Volt Reference
4 0.5 OG 1208 5-Volt Reference
5 0.5 OG/BK 1214 5-Volt Reference
6 0.5 GY 6076 5-Volt Reference
7 - - Not Used
8 0.5 WH 320 Automatic Level Control Exhaust Solenoid Control
9 0.5 L-BU/WH 1112 Damping Relay Coil Control
10 - - Not Used
11 0.5 L-GN/BK 1215 Low Reference
12 0.5 BN 6077 Low Reference
13-16 - - Not Used
17 0.5 TN/WH 1207 Left Front Suspension Position Sensor Signal
18 0.5 TN 1213 Right Front Suspension Position Sensor Signal
19 0.5 L-GN/WH 1216 Right Rear Suspension Position Sensor Signal
20-23 - - Not Used
24 0.5 TN 2501 High Speed GMLAN Serial Data Bus -
25 0.5 TN/BK 2500 High Speed GMLAN Serial Data Bus +
26 0.5 L-BU/BK 1212 Low Reference
27 0.5 L-GN/BK 1209 Low Reference
28 0.5 D-GN 1115 Low Reference
29 0.5 GY/BK 1117 Low Reference
30 0.5 GY 1113 Low Reference
31 0.5 L-BU 5986 Serial Data Communication Enable
32 3 RD/BK 2440 Battery Positive Voltage
33 0.5 L-GN/WH 1210 Left Rear Suspension Position Sensor Signal
34 0.5 TN 6075 Real Time Damping Air Pressure Sensor Signal
35-38 - - Not Used
39 0.5 TN 2501 High Speed GMLAN Serial Data Bus -
40 0.5 TN/BK 2500 High Speed GMLAN Serial Data Bus +
41 0.5 L-BU/BK 1206 Low Reference
42 0.5 D-BU/BK 1118 Right Rear Damper Control
43 0.5 D-BU/WH 1114 Left Rear Damper Control
44 0.5 D-GN 1119 Low Reference
45 0.5 L-BU/BK 1116 Right Front Damper Control
46 0.5 L-BU/WH 1107 Left Front Damper Control
47 3 BK 1750 Ground
Connector Part Information
  • Harness Type: Chassis
  • OEM Connector: 15491307
  • Service Connector: 89047377
  • Description: 47-Way F ASG Series (BK)
Terminal Part Information
  • Pins: 2-6, 8, 9, 11, 12, 17-19, 24-31, 33, 34, 39-46
  • Terminated Lead: 13578883
  • Release Tool: J-38125-215A
  • Diagnostic Test Probe: J-35616-64B (L-BU)
  • Terminal/Tray: SAITS-A03T-M064/14
  • Core/Insulation Crimp: 9/9
  • Pins: 32, 47
  • Terminated Lead: 13579754
  • Release Tool: J-38125-553
  • Diagnostic Test Probe: J-35616-42 (RD)
  • Terminal/Tray: 15476168/5
  • Core/Insulation Crimp: F/3