LEMON Manuals: Even more car manuals for everyone: 1960-2025
Home >> Cadillac >> 2009 >> Escalade EXT >> Repair and Diagnosis (Single Page) >> External Pages >> Different car >> Section 516 (Wiring Systems And Power Management - Component Connector End Views - Electronic Steering Control Module X2 Through Memory Seat Module) >> Component Connector End Views >> Heated Seat Control Module - Rear X2 (KA6)
April 5, 2026: LEMON Manuals is launched! Read the announcement.

Heated Seat Control Module - Rear X2 (KA6)

WARNING: This page does not describe the selected car, but rather 8 other vehicles, including the 2011 GMC Yukon XL, 2011 GMC Yukon, 2011 Chevrolet Tahoe, 2011 Chevrolet Suburban, and 2011 Chevrolet Avalanche. However, it is still accessible from the selected car via links, so may be relevant.
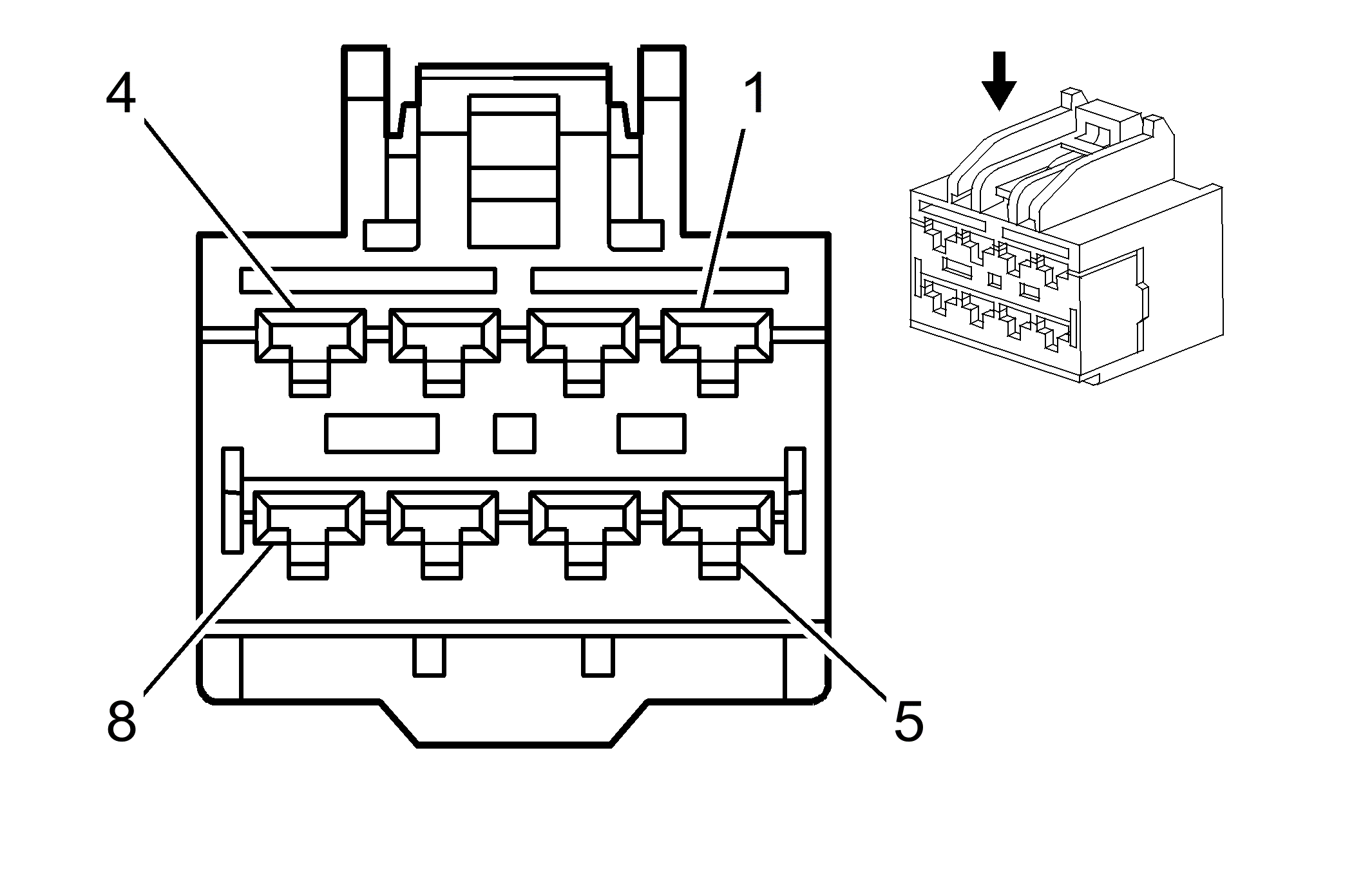
Fig 1: Heated Seat Control Module - Rear X2 (KA6) Connector End View
GM1664463Courtesy of GENERAL MOTORS CORP.
Heated Seat Control Module - Rear X2 (KA6)

Pin Wire Circuit Function
1 0.8 RD/WH 4840 Battery Positive Voltage
2 0.8 BK 1150 Ground
3 - - Not Used
4 0.8 BK 1150 Ground
5 - - Not Used
6 0.35 D-BU 2298 Low Reference
7 - - Not Used
8 0.35 WH/BK 2301 Low Reference
Connector Part Information
  • Harness Type: Left Rear Seat
  • OEM Connector: 6098-4713
  • Service Connector: 88988652
  • Description: 8-Way F (BK)
Terminal Part Information
  • Terminal/Tray: Service by Harness - See Part Catalog
  • Core/Insulation Crimp: Not Available
  • Release Tool/Test Probe: Not Available