LEMON Manuals: Even more car manuals for everyone: 1960-2025
Home >> Cadillac >> 2009 >> Escalade EXT >> Repair and Diagnosis (Single Page) >> External Pages >> Different car >> Section 516 (Wiring Systems And Power Management - Component Connector End Views - Electronic Steering Control Module X2 Through Memory Seat Module) >> Component Connector End Views >> Heated Seat Control Module X2 (KA1 or W03)
April 5, 2026: LEMON Manuals is launched! Read the announcement.

Heated Seat Control Module X2 (KA1 or W03)

WARNING: This page does not describe the selected car, but rather 8 other vehicles, including the 2011 GMC Yukon XL, 2011 GMC Yukon, 2011 Chevrolet Tahoe, 2011 Chevrolet Suburban, and 2011 Chevrolet Avalanche. However, it is still accessible from the selected car via links, so may be relevant.
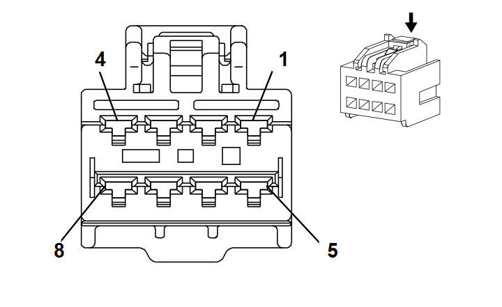
Fig 1: Heated Seat Control Module X2 (KA1 or W03) Connector End View
GM1653389Courtesy of GENERAL MOTORS CORP.
Heated Seat Control Module X2 (KA1 or W03)

Pin Wire Circuit Function
1 0.8 RD/WH 1140 Battery Positive Voltage
2 3 BK 1150 Ground
3-4 - - Not Used
5 0.35 PK 2426 Low reference
6 0.35 YE 2080 Low reference
7 0.35 TN 2482 Low reference
8 0.35 PK 2435 Low reference
Connector Part Information
  • Harness Type: Driver Seat
  • OEM Connector: 6098-4713
  • Service Connector: 88988652
  • Description: 8-Way F 2.8 Series (BK)
Terminal Part Information
  • Pins: 1
  • Terminal/Tray: 8100-4444/22
  • Core/Insulation Crimp: 2/A
  • Release Tool/Test Probe: 15315247/J-35616-35 (VT)
  • Pins: 2
  • Terminal/Tray: 8100-4445/22
  • Core/Insulation Crimp: 1/F
  • Release Tool/Test Probe: 15315247/J-35616-35 (VT)
  • Pins: 5-8
  • Terminal/Tray: 8100-4443/22
  • Core/Insulation Crimp: 1/E
  • Release Tool/Test Probe: 15315247/J-35616-35 (VT)