LEMON Manuals: Even more car manuals for everyone: 1960-2025
Home >> Cadillac >> 2009 >> Escalade EXT >> Repair and Diagnosis (Single Page) >> External Pages >> Different car >> Section 516 (Wiring Systems And Power Management - Component Connector End Views - Electronic Steering Control Module X2 Through Memory Seat Module) >> Component Connector End Views >> Heated Seat Element - Driver Cushion (AN3 or KA1, without KB6, or W03)
April 5, 2026: LEMON Manuals is launched! Read the announcement.

Heated Seat Element - Driver Cushion (AN3 or KA1, without KB6, or W03)

WARNING: This page does not describe the selected car, but rather 8 other vehicles, including the 2011 GMC Yukon XL, 2011 GMC Yukon, 2011 Chevrolet Tahoe, 2011 Chevrolet Suburban, and 2011 Chevrolet Avalanche. However, it is still accessible from the selected car via links, so may be relevant.
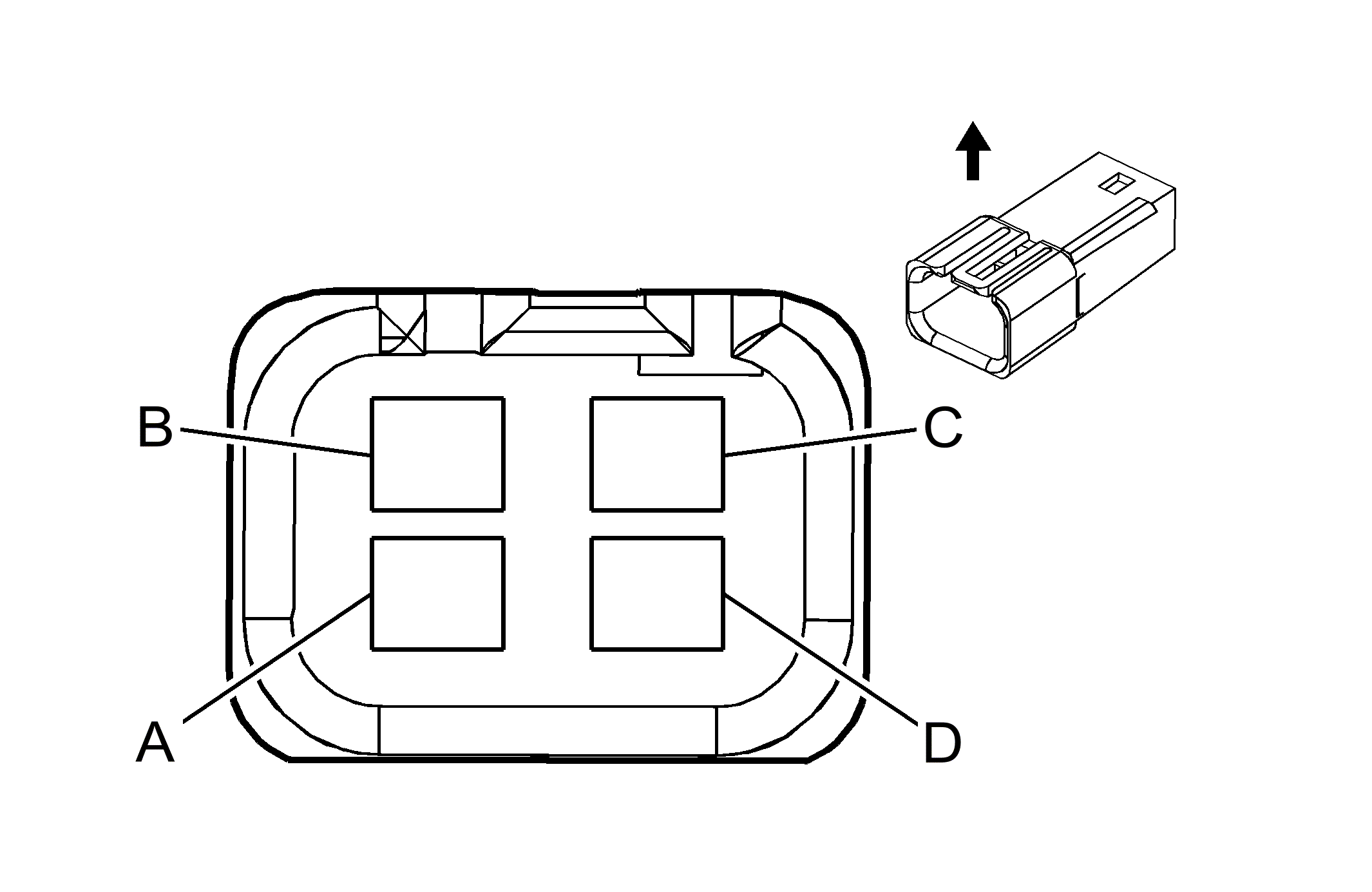
Fig 1: Heated Seat Element - Driver Cushion (AN3 or KA1, without KB6, or W03) Connector End View
GM283890Courtesy of GENERAL MOTORS CORP.
Heated Seat Element- Driver Cushion (AN3 or KA1, without KB6, or W03)

Pin Wire Circuit Function
A 1 PK 2077 Heated Seat Cushion Element Control
B 1 L-GN 2078 Ground
C 0.35 YE/BK 2079 Driver Heated Seat Cushion Temperature Sensor Signal
D 0.35 YE 2080 Low Reference
Connector Part Information
  • Harness Type: Driver Seat
  • OEM Connector: 12066498
  • Service Connector: 12085536
  • Description: 4-Way F Metri-Pack 150 Series (BK)
Terminal Part Information
  • Pins: A, B
  • Terminated Lead: 13505668
  • Release Tool: J-38125-12A
  • Diagnostic Test Probe: J-35616-3 (GY)
  • Terminal/Tray: 12047581/2
  • Core/Insulation Crimp: E/C
  • Pins: C, D
  • Terminated Lead: 13575462
  • Release Tool: J-38125-12A
  • Diagnostic Test Probe: J-35616-3 (GY)
  • Terminal/Tray: 12047581/2
  • Core/Insulation Crimp: E/A