LEMON Manuals: Even more car manuals for everyone: 1960-2025
Home >> Cadillac >> 2009 >> Escalade EXT >> Repair and Diagnosis (Single Page) >> External Pages >> Different car >> Section 516 (Wiring Systems And Power Management - Component Connector End Views - Electronic Steering Control Module X2 Through Memory Seat Module) >> Component Connector End Views >> Inflatable Restraint Sensing and Diagnostic Module (SDM) X1
April 5, 2026: LEMON Manuals is launched! Read the announcement.

Inflatable Restraint Sensing and Diagnostic Module (SDM) X1

WARNING: This page does not describe the selected car, but rather 8 other vehicles, including the 2011 GMC Yukon XL, 2011 GMC Yukon, 2011 Chevrolet Tahoe, 2011 Chevrolet Suburban, and 2011 Chevrolet Avalanche. However, it is still accessible from the selected car via links, so may be relevant.
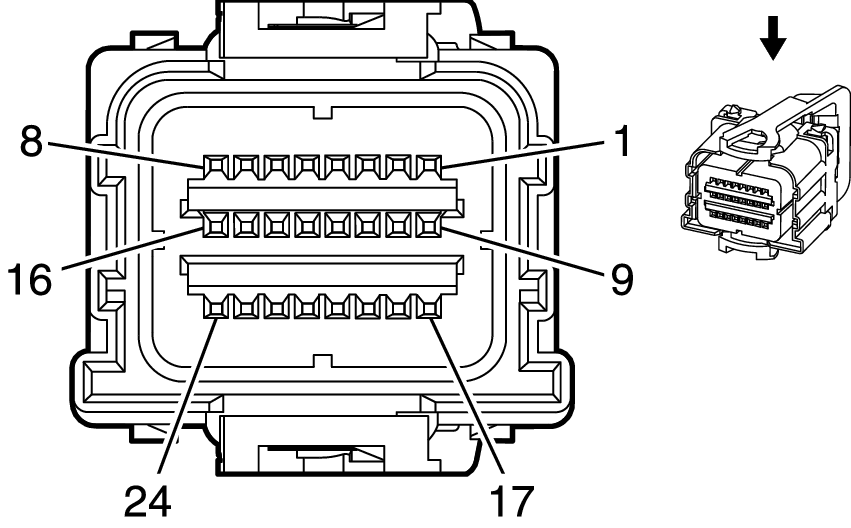
Fig 1: Inflatable Restraint Sensing and Diagnostic Module (SDM) X1 Connector End Views
GM2180230Courtesy of GENERAL MOTORS CORP.
Inflatable Restraint Sensing and Diagnostic Module (SDM) X1

Pin Wire Circuit Function
1 0.5 WH 3023 Steering Wheel Module - Stage 2 - High Control
2 0.5 PK 3022 Steering Wheel Module - Stage 2 - Low Control
3 0.5 BN 3020 Steering Wheel Module - Stage 1 - Low Control
4 0.5 TN 3021 Steering Wheel Module - Stage 1 - High Control
5 0.5 YE 3025 I/P Module - Stage 1 - High Control
6 0.5 GY 3027 I/P Module - Stage 1 - Low Control
7 0.5 PU 3026 I/P Module - Stage 2 - Low Control
8 0.5 GY 3027 I/P Module - Stage 2 - High Control
9 0.5 RD/WH 4440 Battery Positive Voltage
10-14 - - Not Available
15 03.5 D-GN 5060 Low Speed GMLAN Serial Data
16 - - Not Available
17 0.35 PK 1139 Ignition Voltage
18 - - Not Available
19 0.5 BK/WH 2751 Ground
20-24 - - Not Available
Connector Part Information
  • Harness Type: Body
  • OEM Connector: 13789034
  • Service Connector: 13580844
  • Description:12-Way F Receptacle 0.64 Series, Sealed (YE)
Terminal Part Information
  • Terminated Lead: 13579946
  • Release Tool: Pending
  • Diagnostic Test Probe: Pending
  • Terminal/Tray: Not Available
  • Core/Insulation Crimp: Not Available