LEMON Manuals: Even more car manuals for everyone: 1960-2025
Home >> Cadillac >> 2009 >> Escalade EXT >> Repair and Diagnosis (Single Page) >> External Pages >> Different car >> Section 516 (Wiring Systems And Power Management - Component Connector End Views - Electronic Steering Control Module X2 Through Memory Seat Module) >> Component Connector End Views >> Liftgate Handle Switch (E52 or TB7)
April 5, 2026: LEMON Manuals is launched! Read the announcement.

Liftgate Handle Switch (E52 or TB7)

WARNING: This page does not describe the selected car, but rather 8 other vehicles, including the 2011 GMC Yukon XL, 2011 GMC Yukon, 2011 Chevrolet Tahoe, 2011 Chevrolet Suburban, and 2011 Chevrolet Avalanche. However, it is still accessible from the selected car via links, so may be relevant.
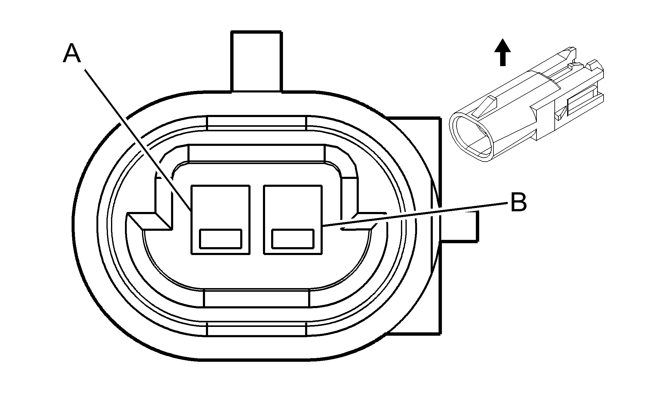
Fig 1: Liftgate Handle Switch (E52 or TB7) Connector End View
GM697014Courtesy of GENERAL MOTORS CORP.
Liftgate Handle Switch (E52 or TB7)

Pin Wire Circuit Function
A 0.35 GY 5797 Rear Closure Handle Switch Open Signal
B 0.5 BK 1450 Ground (E52 without E61)
0.35 PU/WH 5801 Low Reference (E61)
Connector Part Information
  • Harness Type: Liftgate
  • OEM Connector: 13547941 (E52)
  • OEM Connector: 15355466 (TB7)
  • Service Connector: Service by Harness- See Part Catalog (E52)
  • Service Connector: 89046633 (TB7)
  • Description: 2-Way M GT 150 Series Sealed (BK)
Terminal Part Information
  • Terminated Lead: Service by Harness- See Part Catalog
  • Release Tool: J-38125-553
  • Diagnostic Test Probe: J-35616-3 (GY)
  • Terminal/Tray: 15326269/19
  • Core/Insulation Crimp: E/4