LEMON Manuals: Even more car manuals for everyone: 1960-2025
Home >> Cadillac >> 2009 >> Escalade EXT >> Repair and Diagnosis (Single Page) >> External Pages >> Different car >> Section 651 (Wiring Systems And Power Management - Component Connector End Views - Electronic Compass Module To Memory Seat Module (X4)) >> Component Connector End Views >> Inside Rearview Mirror (ISRVM)
April 5, 2026: LEMON Manuals is launched! Read the announcement.

Inside Rearview Mirror (ISRVM)

WARNING: This page does not describe the selected car, but rather 8 other vehicles, including the 2012 GMC Yukon XL, 2012 GMC Yukon, 2012 Chevrolet Tahoe, 2012 Chevrolet Suburban, and 2012 Chevrolet Avalanche. However, it is still accessible from the selected car via links, so may be relevant.
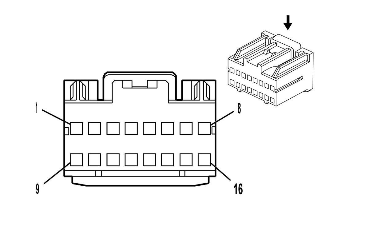
GM1711009Courtesy of
Connector Part Information
  • Harness Type: Headliner
  • OEM Connector: 15441350
  • Service Connector: 15306351
  • Description: 16-Way F 040 II (BK)
Terminal Part Information
  • Terminated Lead: 13575548
  • Release Tool: J-38125-559
  • Diagnostic Test Probe: J-35616-16 (L-GN)
  • Terminal/Tray: 15445905/23
  • Core/Insulation Crimp: J/J
Inside Rearview Mirror (ISRVM)

Pin Wire Circuit Function
1 0.5 RD/WH 240 Battery Positive Voltage (TQ5)
2 - - Not Used
3 0.35 D-GN 5060 Low Speed GMLAN Serial Data (TQ5)
4 - - Not Used
5 0.35 GY 1690 Automatic Day/Night Mirror Signal (DL3 or DR4)
6 0.35 WH 7641 Camera Signal (+) (DRC)
0.35 WH 7641 Not Used (without DRC)
7 0.35 D-BU 7642 Camera Signal (-) (DRC)
0.35 D-BU 7642 Not Used (without DRC)
8 0.5 BK 1050 Ground
9 0.35 D-BU 38 Backup Lamp Control (DD8)
10 - - Not Used
11 0.35 D-GN/WH 2514 Keypad Signal (UE1)
12 0.35 L-GN/BK 2515 Keypad Control (UE1)
13 0.35 PK 1639 Ignition Voltage
14 0.35 YE/BK 2516 Keypad Green LED Signal (UE1)
15 0.35 BN/WH 2517 Keypad Red LED Signal (UE1)
16 0.35 PK 1691 Low Reference (DL3 or DR4)