LEMON Manuals: Even more car manuals for everyone: 1960-2025
Home >> Cadillac >> 2011 >> CTS Base, 2D Coupe, AWD >> Repair and Diagnosis >> Quick Lookups >> Wiring Diagrams >> Wiring Systems And Power Management - Component Connector End Views - Memory Seat Module Through Rear Window Defogger Relay >> Component Connector End Views >> Navigation and Traffic Data Antenna (U2X) Connector End View
April 5, 2026: LEMON Manuals is launched! Read the announcement.

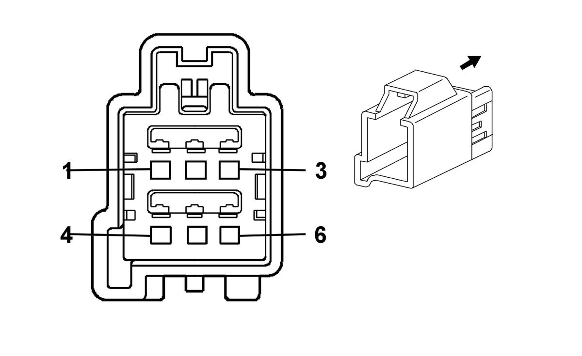
Navigation and Traffic Data Antenna (U2X) Connector End View

Fig 1: Navigation and Traffic Data Antenna (U2X) Connector End View
GM1283896Courtesy of GENERAL MOTORS CORP.
Navigation and Traffic Data Antenna (U2X)

Pin Wire Circuit Function
1 0.35 BARE 1782 Drain Wire
2 0.35 GY - COAX
3 0.35 BN - COAX
4 0.35 YE - COAX
6 0.35 YE - COAX
Connector Part Information 
  • Harness Type: Body
  • OEM Connector: 7282-6454-40
  • Service Connector: 89046743
  • Description: 6-Way M 1.5 Series (L-GY)
Terminal Part Information 
  • Terminated Lead: 13575818
  • Release Tool: J-38125-553
  • Diagnostic Test Probe: J-35616-3 (GY)
  • Terminal/Tray: 7114-4100-08/9
  • Core/Insulation Crimp: E/C