LEMON Manuals: Even more car manuals for everyone: 1960-2025
Home >> Cadillac >> 2011 >> STS AWD >> Repair and Diagnosis (Single Page) >> Accessories & Equipment >> Anti-Theft Systems >> Power Door Lock System And Release Systems >> Schematic Wiring Diagrams >> Door Control Module Wiring Schematics >> Door Control Module- Driver Power, Ground and DLC Wiring Schematic
April 5, 2026: LEMON Manuals is launched! Read the announcement.

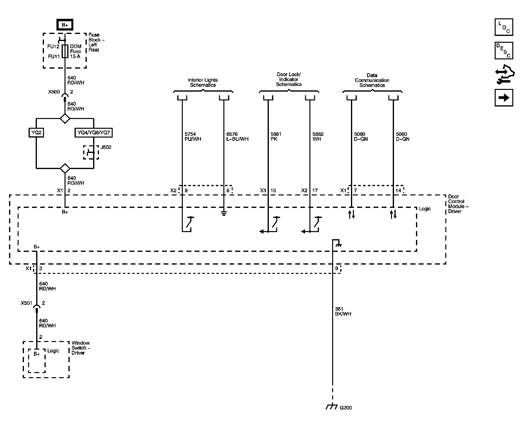
Door Control Module- Driver Power, Ground and DLC Wiring Schematic

Fig 1: Door Control Module - Driver Power, Ground and DLC Wiring Schematic
GM2410930Courtesy of GENERAL MOTORS COMPANY