LEMON Manuals: Even more car manuals for everyone: 1960-2025
Home >> Cadillac >> 2011 >> STS RWD >> Repair and Diagnosis (Single Page) >> Body & Frame >> Door Locks >> Power Door Lock System And Release Systems >> Schematic Wiring Diagrams >> Door Control Module Wiring Schematics >> Door Control Module- Driver Signals/Controls Wiring Schematic (2 of 2)
April 5, 2026: LEMON Manuals is launched! Read the announcement.

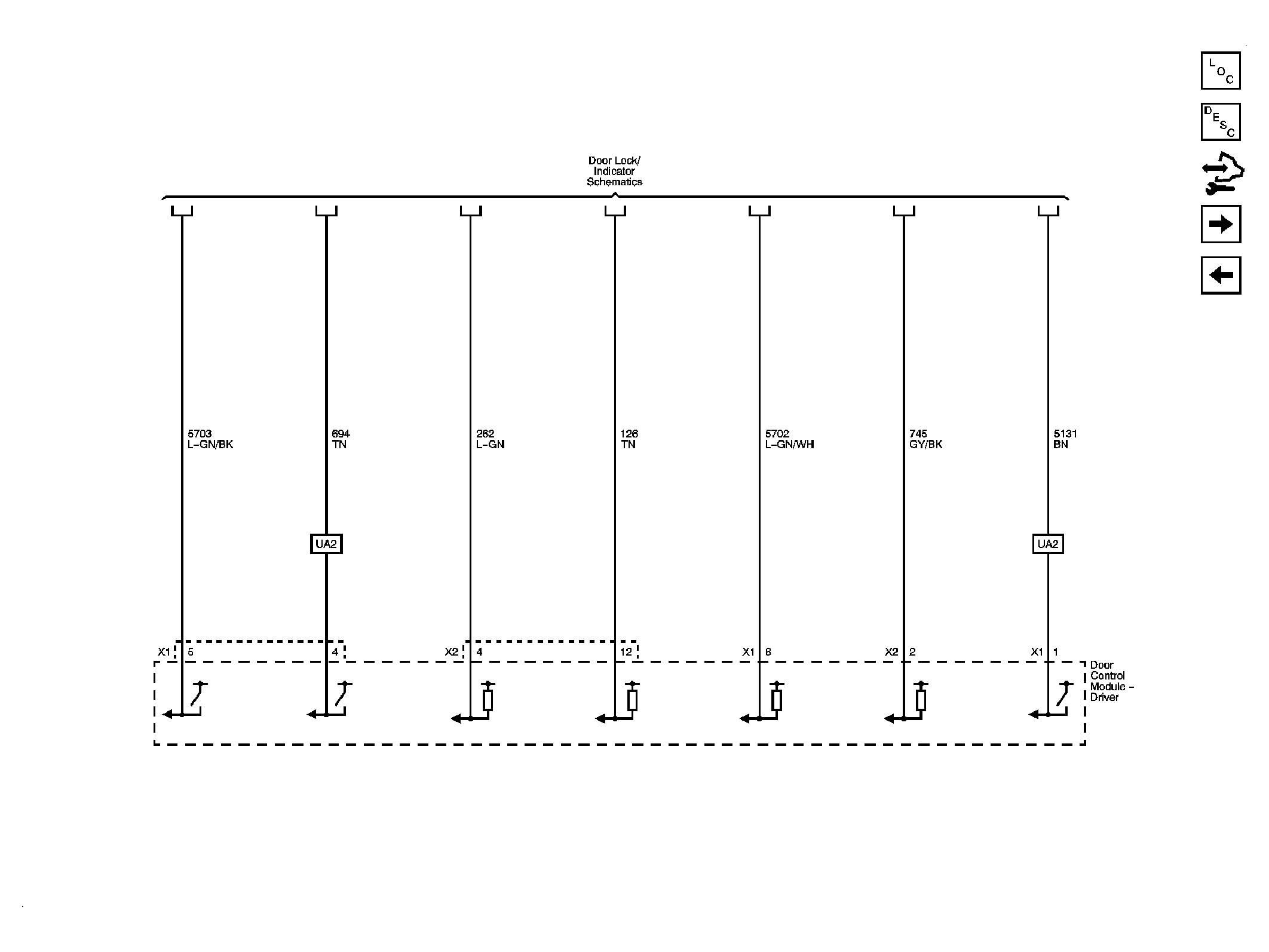
Door Control Module- Driver Signals/Controls Wiring Schematic (2 of 2)

Fig 1: Door Control Module - Driver Signals/Controls Wiring Schematic (2 of 2)
GM2410935Courtesy of GENERAL MOTORS COMPANY