LEMON Manuals: Even more car manuals for everyone: 1960-2025
Home >> Cadillac >> 2012 >> Escalade EXT >> Repair and Diagnosis >> External Pages >> Different car >> Section 1776 (Wiring Systems And Power Management - Component Connector End Views - Mode Actuator Through Yaw Sensor) >> Component Connector End Views >> Transmission Power Inverter Module (3 Phase) Cable Cover (HP2)
April 5, 2026: LEMON Manuals is launched! Read the announcement.

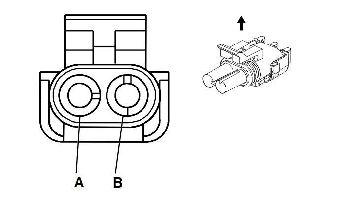
Transmission Power Inverter Module (3 Phase) Cable Cover (HP2)

WARNING: This page does not describe the selected car, but rather 8 other vehicles, including the 2011 GMC Yukon XL, 2011 GMC Yukon, 2011 Chevrolet Tahoe, 2011 Chevrolet Suburban, and 2011 Chevrolet Avalanche. However, it is still accessible from the selected car via links, so may be relevant.
Fig 1: Transmission Power Inverter Module (3 Phase) Cable Cover (HP2) Connector End View
GM781760Courtesy of GENERAL MOTORS CORP.
Transmission Power Inverter Module (3 Phase) Cable Cover (HP2)

Pin Wire Circuit Function
A 0.5 OG 5690 High Voltage Interlock Circuit-
B 0.5 YE 5690 High Voltage Interlock Circuit-
Connector Part Information
  • Harness Type: Engine
  • OEM Connector: 12015792
  • Service Connector: 12126452
  • Description: 2-Way F Weather Pack Series, Sealed (BK)
Terminal Part Information
  • Terminated Lead: Service by Connector Assembly- 12126452
  • Release Tool: J-38125-10A
  • Diagnostic Test Probe: J-35616-8 (OG)
  • Terminal/Tray: 12089188/3
  • Core/Insulation Crimp: E/5