LEMON Manuals: Even more car manuals for everyone: 1960-2025
Home >> Cadillac >> 2012 >> Escalade EXT >> Repair and Diagnosis >> External Pages >> Different car >> Section 1869 (Wiring Systems And Power Management - Component Connector End Views - A/C Compressor Through Electronic Power Steering Module X1) >> Component Connector End Views >> Accessory AC/DC Power Control Module X2 (HP2)
April 5, 2026: LEMON Manuals is launched! Read the announcement.

Accessory AC/DC Power Control Module X2 (HP2)

WARNING: This page does not describe the selected car, but rather 8 other vehicles, including the 2011 GMC Yukon XL, 2011 GMC Yukon, 2011 Chevrolet Tahoe, 2011 Chevrolet Suburban, and 2011 Chevrolet Avalanche. However, it is still accessible from the selected car via links, so may be relevant.
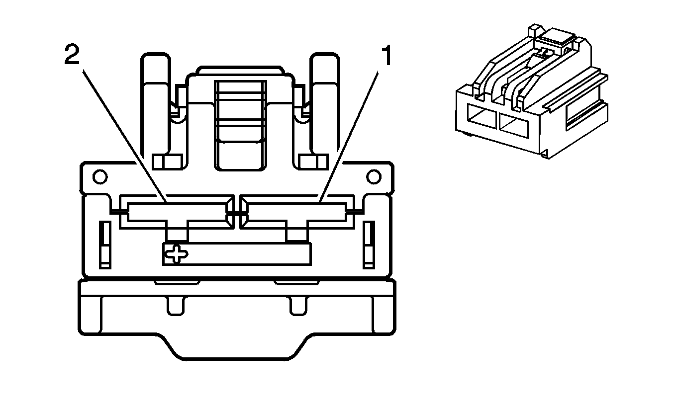
Fig 1: Accessory AC/DC Power Control Module X2 (HP2) Connector End View
GM1538784Courtesy of GENERAL MOTORS CORP.
Accessory AC/DC Power Control Module X2 (HP2)

Pin Wire Circuit Function
1 1 BK 1450 Ground
2 1 RD/WH 4140 Battery Positive Voltage
Connector Part Information
  • Harness Type: Body
  • OEM Connector: 15473590
  • Service Connector: 88987988
  • Description: 2-Way F Receptacle 6.3 Series (BK)
Terminal Part Information
  • Terminated Lead: Service by Connector Assembly- 88987988
  • Release Tool: J-38125-11A
  • Diagnostic Test Probe: J-35616-42 (RD)
  • Terminal/Tray: 7116-4120-02/9
  • Core/Insulation Crimp: E/B