LEMON Manuals: Even more car manuals for everyone: 1960-2025
Home >> Cadillac >> 2012 >> Escalade EXT >> Repair and Diagnosis >> External Pages >> Different car >> Section 1869 (Wiring Systems And Power Management - Component Connector End Views - A/C Compressor Through Electronic Power Steering Module X1) >> Component Connector End Views >> Blower Motor
April 5, 2026: LEMON Manuals is launched! Read the announcement.

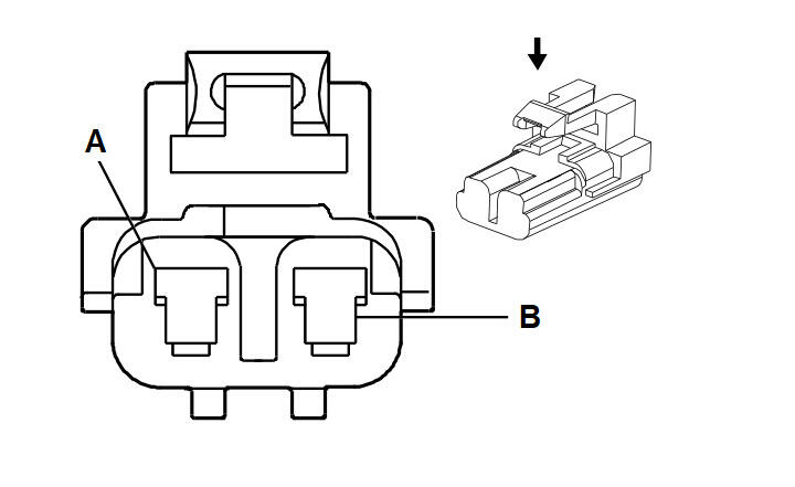
Blower Motor

WARNING: This page does not describe the selected car, but rather 8 other vehicles, including the 2011 GMC Yukon XL, 2011 GMC Yukon, 2011 Chevrolet Tahoe, 2011 Chevrolet Suburban, and 2011 Chevrolet Avalanche. However, it is still accessible from the selected car via links, so may be relevant.
Fig 1: Blower Motor Connector End View
GM62488Courtesy of GENERAL MOTORS CORP.
Blower Motor

Pin Wire Circuit Function
A 3 PU 65 Battery Positive Voltage
B 3 BK 2150 Ground
Connector Part Information
  • Harness Type: HVAC
  • OEM Connector: 12084957
  • Service Connector: 12126461
  • Description: 2-Way F Metri-Pack 280 Series (BK)
Terminal Part Information
  • Terminal/Tray: Service by Harness- See Part Catalog
  • Core/Insulation Crimp: Not Available
  • Release Tool/Test Probe: Not Available