LEMON Manuals: Even more car manuals for everyone: 1960-2025
Home >> Cadillac >> 2012 >> Escalade EXT >> Repair and Diagnosis >> External Pages >> Different car >> Section 1869 (Wiring Systems And Power Management - Component Connector End Views - A/C Compressor Through Electronic Power Steering Module X1) >> Component Connector End Views >> Control Solenoid Valve Assembly X3 (MYC or MYD)
April 5, 2026: LEMON Manuals is launched! Read the announcement.

Control Solenoid Valve Assembly X3 (MYC or MYD)

WARNING: This page does not describe the selected car, but rather 8 other vehicles, including the 2011 GMC Yukon XL, 2011 GMC Yukon, 2011 Chevrolet Tahoe, 2011 Chevrolet Suburban, and 2011 Chevrolet Avalanche. However, it is still accessible from the selected car via links, so may be relevant.
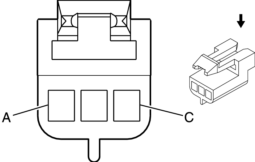
Fig 1: Control Solenoid Valve Assembly X3 (MYC or MYD) Connector End View
GM130631Courtesy of GENERAL MOTORS CORP.
Control Solenoid Valve Assembly X3 (MYC or MYD)

Pin Wire Circuit Function
A 0.35 GN - Input Speed Sensor (ISS) Signal
B 0.35 RD - Reference Voltage
C 0.35 BK - Output Speed Sensor (OSS) Signal
Connector Part Information
  • Harness Type: Transmission
  • OEM Connector: 12064758
  • Service Connector: 12117320
  • Description: 3-Way F Metri-Pack 150 Series (NA)
Terminal Part Information
  • Terminated Lead: Service by Connector Assembly - 12117320
  • Release Tool: Not Available
  • Test Probe: Not Available
  • Terminal/Tray: Not Available
  • Core/Insulation Crimp: Not Available