LEMON Manuals: Even more car manuals for everyone: 1960-2025
Home >> Cadillac >> 2012 >> Escalade EXT >> Repair and Diagnosis >> External Pages >> Different car >> Section 1869 (Wiring Systems And Power Management - Component Connector End Views - A/C Compressor Through Electronic Power Steering Module X1) >> Component Connector End Views >> Drive Motor Battery Cable Terminal Extension Cover (HP2)
April 5, 2026: LEMON Manuals is launched! Read the announcement.

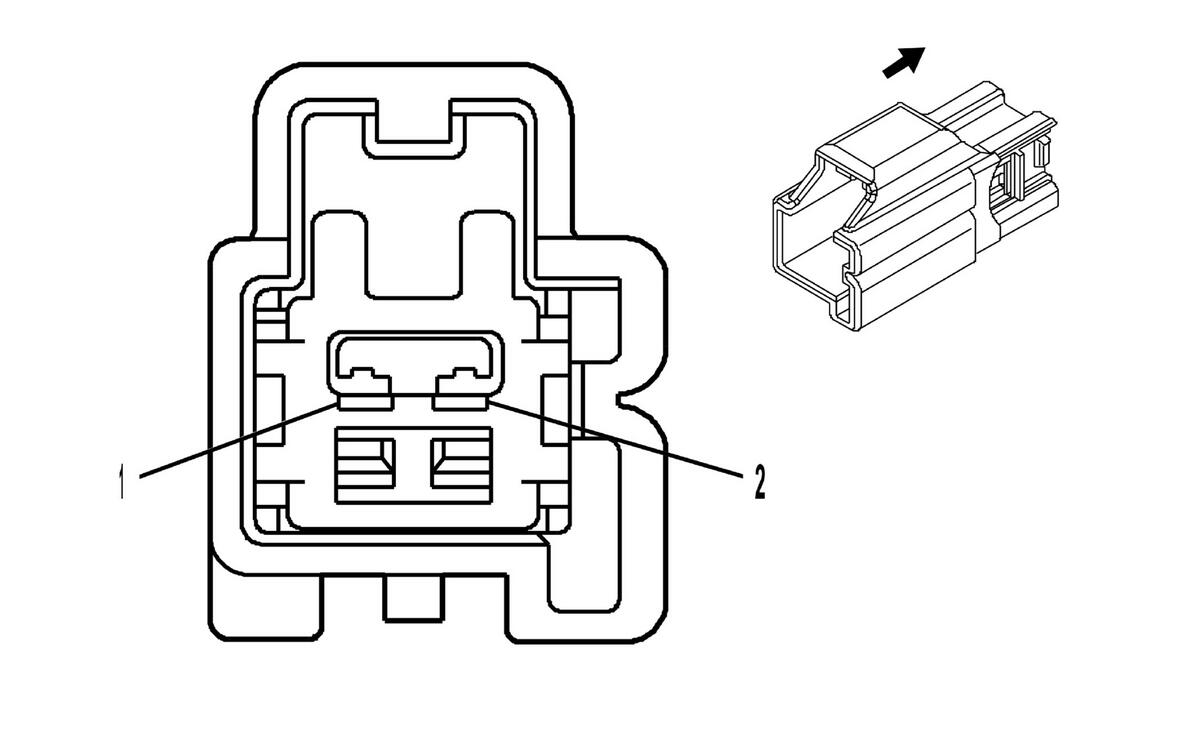
Drive Motor Battery Cable Terminal Extension Cover (HP2)

WARNING: This page does not describe the selected car, but rather 8 other vehicles, including the 2011 GMC Yukon XL, 2011 GMC Yukon, 2011 Chevrolet Tahoe, 2011 Chevrolet Suburban, and 2011 Chevrolet Avalanche. However, it is still accessible from the selected car via links, so may be relevant.
Fig 1: Drive Motor Battery Cable Terminal Extension Cover (HP2) Connector End View
GM1853532Courtesy of GENERAL MOTORS CORP.
Drive Motor Battery Cable Terminal Extension Cover (HP2)

Pin Wire Circuit Function
1 YE - High Voltage Interlock Circuit Source
2 L-GN - High Voltage Interlock Circuit Return
Connector Part Information
  • Harness Type: Drive Motor Generator Battery Control
  • OEM Connector: 7282-5530-40
  • Service Connector: 88988503
  • Description: 2-Way M 1.5 Series (L-GY)
Terminal Part Information
  • Terminal/Tray: 7114-4100-08/9
  • Core/Insulation Crimp: E/C
  • Release Tool/Test Probe: 15315247/J-35616-3 (GY)