LEMON Manuals: Even more car manuals for everyone: 1960-2025
Home >> Cadillac >> 2012 >> Escalade EXT >> Repair and Diagnosis >> External Pages >> Different car >> Section 1869 (Wiring Systems And Power Management - Component Connector End Views - A/C Compressor Through Electronic Power Steering Module X1) >> Component Connector End Views >> Drive Motor Generator Power Inverter Module X1 (HP2)
April 5, 2026: LEMON Manuals is launched! Read the announcement.

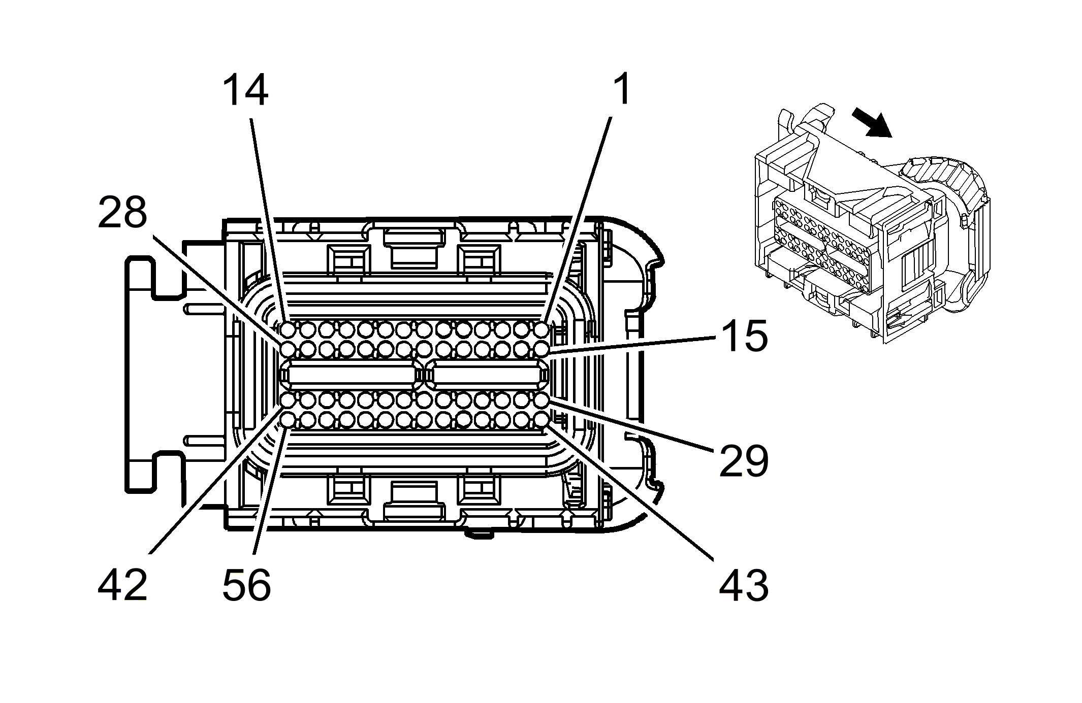
Drive Motor Generator Power Inverter Module X1 (HP2)

WARNING: This page does not describe the selected car, but rather 8 other vehicles, including the 2011 GMC Yukon XL, 2011 GMC Yukon, 2011 Chevrolet Tahoe, 2011 Chevrolet Suburban, and 2011 Chevrolet Avalanche. However, it is still accessible from the selected car via links, so may be relevant.
Fig 1: Drive Motor Generator Power Inverter Module X1 (HP2) Connector End View
GM2103247Courtesy of GENERAL MOTORS CORP.
Drive Motor Generator Power Inverter Module X1 (HP2)

Pin Wire Circuit Function
1 0.5 OG 5595 High Voltage Interlock Loop - Negaitive
2-3 - - Not Used
4 0.35 YE 988 Contactor Control
5 0.8 L-GN 983 Transmission Fluid Pump Control
6 0.8 RD/WH 984 Battery Positive Voltage
7 0.8 RD/WH 983 Battery Positive Voltage
8-9 - - Not Used
10 0.5 L-BU 6106 PTLAN -
11 0.5 D-BU 6105 PTLAN +
12 - - Not Used
13 0.5 TN 2501 High Speed GMLAN Serial Data Bus-
14 0.5 TN/BK 2500 High Speed GMLAN Serial Data Bus+
15 0.5 YE 904 Internal Mode Switch (IMS) R1
16 0.5 GY 904 Internal Mode Switch(IMS) R2
17 0.5 BN 904 Internal Mode Switch (IMS) R3
18 0.5 L-GN 904 Internal Mode Switch (IMS) R4
19 0.5 L-GN/BK 968 Wake Up Signal
20 0.5 PK/WH 2139 Ignition Voltage
21-22 - - Not Used
23 0.5 PU 5087 High Voltage Interlock Circuit - Positive
24 0.5 L-BU 6106 PTLAN -
25 0.5 D-BU 6105 PTLAN +
26 0.35 WH/BK 6271 Crankshaft Position Sensor Signal
27 0.5 TN 2501 High Speed GMLAN Serial Data Bus -
28 0.5 TN/BK 2500 High Speed GMLAN Serial Data Bus +
29 0.5 YE 9016 Temperature Sensor B Return
30-31 - - Not Used
32 0.5 PU 904 Internal Mode Switch (IMS)-S
33-34 - - Not Used
35 0.35 GY/BK 6272 Low Reference
36 0.5 D-GN 7654 Temperature Sensor A Return
37-38 - - Not Used
39 0.5 OG/BK 1786 Internal Mode Switch (IMS) Ground
40 - - Not Used
41 0.8 TN 982 Transmission Fluid Pump Diagnostic
42 - - Not Used
43 0.5 L-GN 9015 Temperature Sensor B Signal
44 0.5 BN 9007 Resolver Motor B S4 Signal
45 0.5 D-GN 9006 Resolver Motor B S2 Signal
46 0.5 GY 9009 Resolver Motor B S3 Signal
47 0.5 L-BU 9008 Resolver Motor B S1 Signal
48 0.5 GY 9005 Resolver Motor B Excitation, Negative
49 0.5 D-BU 9004 Resolver Motor B Excitation, Positive
50 0.5 L-BU 7653 Temperature Sensor A Signal
51 0.5 GY 7646 Resolver Motor A S4 Signal
52 0.5 PU 7647 Resolver Motor A S2 Signal
53 0.5 BN 7652 Resolver Motor A S3 Signal
54 0.5 YE 7649 Resolver Motor A S1 Signal
55 0.5 L-GN 7648 Resolver Motor A Excitation, Positive
56 0.5 D-BU 7645 Resolver Motor A Excitation, Positive
Connector Part Information
  • Harness Type: Engine
  • OEM Connector: 13570045
  • Service Connector: 19180279
  • Description: 56-Way F Mirco-Pack 64 Series, Sealed (BK)
Terminal Part Information
  • Terminated Lead: Pins: 1, 5-7, 10, 11, 13-20, 23-25, 27-29, 32, 36, 39, 41, 43-56 - 13575528
  • Terminated Lead: Pins: 4, 26, 35 - 13579968
  • Release Tool: J-38125-21
  • Diagnostic Test Probe: J-35616-64B (L-BU)
  • Terminal/Tray: 15359541/4
  • Core/Insulation Crimp: M/M