LEMON Manuals: Even more car manuals for everyone: 1960-2025
Home >> Cadillac >> 2018 >> XTS Base >> Repair and Diagnosis (Single Page) >> Quick Lookups >> Wiring Diagrams >> Component Connector End Views (K50-M55P) >> Component Connector End Views >> K99 Steering Column Position Control Module X1
April 5, 2026: LEMON Manuals is launched! Read the announcement.

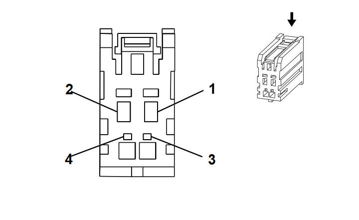
K99 Steering Column Position Control Module X1

GM2966523Courtesy of GENERAL MOTORS COMPANY
Connector Part Information
  • Harness Type: Steering Column Tilt Motor
  • OEM Connector: 19206654
  • Service Connector: Service by Harness - See Part Catalog
  • Description: 4-Way F 0.64, 1.5 Series (GY)
Terminal Part Information

Terminal Type ID Terminated Lead Diagnostic Test Probe Terminal Removal Tool Service Terminal Tray Name Core Crimp Insulation Crimp
I Not Required Not Available No Tool Required Not Required Not Required Not Required Not Required
Pin Size Color Circuit Function Terminal Type ID Option
1 1 BN/GY 2112 Steering Column Tilt Motor Down Control I -
2 1 GY/VT 2111 Steering Column Tilt Motor Up Control I -
3 0.35 WH/BK 2157 Steering Column Tilt Motor Low Reference I -
4 0.35 YE 2154 Steering Column Tilt Motor Signal I -