LEMON Manuals: Even more car manuals for everyone: 1960-2025
Home >> Cadillac >> 2019 >> CTS Base, RWD >> Repair and Diagnosis >> External Pages >> Different car >> Section 9 (Component Connector End Views (K47-K178)) >> Component Connector End Views >> K68 Trailer Lighting Control Module X1
April 5, 2026: LEMON Manuals is launched! Read the announcement.

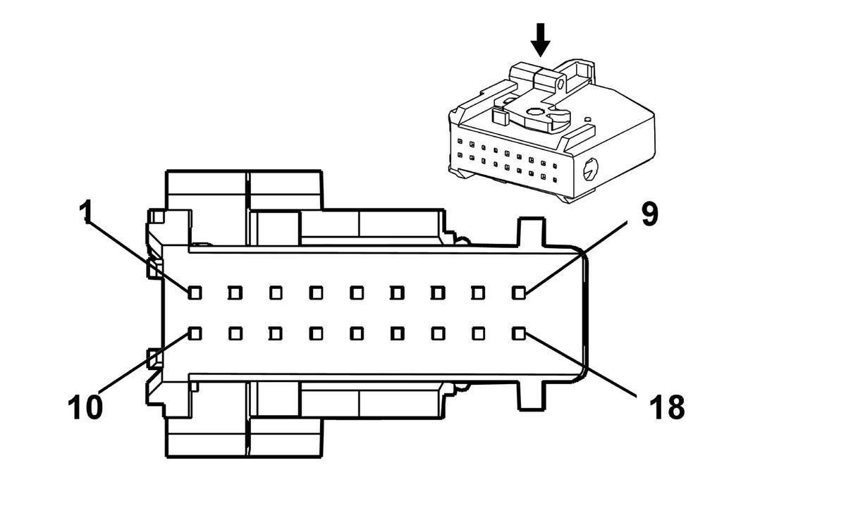
K68 Trailer Lighting Control Module X1

WARNING: This page is about a different car, the 2018 Cadillac CTS. However, it is still accessible from the selected car via links, so may be relevant.
GM2236519Courtesy of GENERAL MOTORS COMPANY
Connector Part Information
  • Harness Type: Body
  • OEM Connector: 13223363
  • Service Connector: 13576561
  • Description: 18-Way F 0.64 Micro-Quadlock Series (NA)
Terminal Part Information

Terminal Type ID Terminated Lead Diagnostic Test Probe Terminal Removal Tool Service Terminal Tray Name Core Crimp Insulation Crimp
I 13575859 J-35616-64B (LT BU) J-38125-12A Not Available Not Available Not Available Not Available
Pin Size Color Circuit Function Terminal Type ID Option
1 0.35 GN 5060 Low Speed GMLAN Serial Data I V2S
2 0.75 YE/GY 5187 Right Trailer Turn Signal Lamp Control I V2S
3 - - - Not Occupied - -
4 0.75 BN/GY 5184 Left Trailer Park Lamp Control I V2S
5 - 6 - - - Not Occupied - -
7 0.75 GN/WH 5189 Trailer Backup Lamp Control I V2S
8 0.75 YE/WH 5190 Trailer Fog Lamp Control I V2S
9 - - - Not Occupied - -
10 0.75 BN/YE 5188 Trailer Brake Lamp Control I V2S
11 - - - Not Occupied - -
12 0.75 GN/BU 5992 Trailer Connected Signal I V2S
13 0.35 VT/BK 1239 Run/Crank Ignition 1 Voltage I -
14 0.5 VT/WH 5065 Stop Lamp Relay Coil Control I V2S
15 - - - Not Occupied - -
16 0.75 GY 5185 Right Trailer Park Lamp Control I V2S
17 0.75 BU/WH 5186 Left Trailer Turn Signal Lamp Control I V2S
18 - - - Not Occupied - -