LEMON Manuals: Even more car manuals for everyone: 1960-2025
Home >> Chevrolet >> 1982 >> Chevette L4-98 1.6L >> Repair and Diagnosis >> Powertrain Management >> Ignition System >> Ignition Timing >> Timing Marks and Indicators >> Locations
April 5, 2026: LEMON Manuals is launched! Read the announcement.

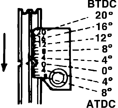
Timing Marks and Indicators: Locations

Timing Mark - 1.6L (98):