LEMON Manuals: Even more car manuals for everyone: 1960-2025
Home >> Chevrolet >> 1987 >> Astro Van M L4-151 2.5L >> Repair and Diagnosis >> Transmission and Drivetrain >> Automatic Transmission/Transaxle >> Service and Repair >> Overhaul >> 700-R4 Automatic Transmission >> Subassembly Service >> Case & Internal Components >> Low/Reverse Support Assembly
April 5, 2026: LEMON Manuals is launched! Read the announcement.

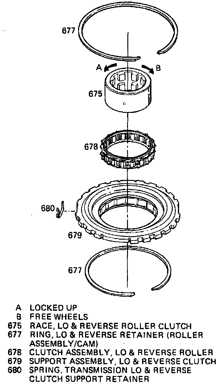
Low/Reverse Support Assembly




1. Remove inner race from support assembly.

2. Remove one retainer ring, then the roller clutch assembly.

3. Inspect inner race for damage and surface wear.

4. Inspect roller clutch assembly for damaged rollers and broken springs.

5. Inspect cam and support assembly for loose cam, surface damage, cracks or damaged lugs.

6. Install roller clutch assembly into cam and support assembly.

7. Install support and roller assembly into case with the hub down.

8. Install inner race into roller assembly. Push down for full engagement. Ensure bottom tangs are flush with carrier hub. Check for proper operation by rotating inner race as shown.







9. Install support retainer spring into case as shown.