LEMON Manuals: Even more car manuals for everyone: 1960-2025
Home >> Chevrolet >> 1990 >> Caprice V8-350 5.7L >> Repair and Diagnosis >> Specifications >> Mechanical Specifications >> Engine >> System Specifications
April 5, 2026: LEMON Manuals is launched! Read the announcement.

System Specifications






















Engine Specifications:









Torque Specifications 5.7L (LT5):




Torque Specifications 7.7L (LT5):





Engine Specifications:




Engine Specifications 5.7L (LT5):




Engine Specifications 5.7L (LT5):





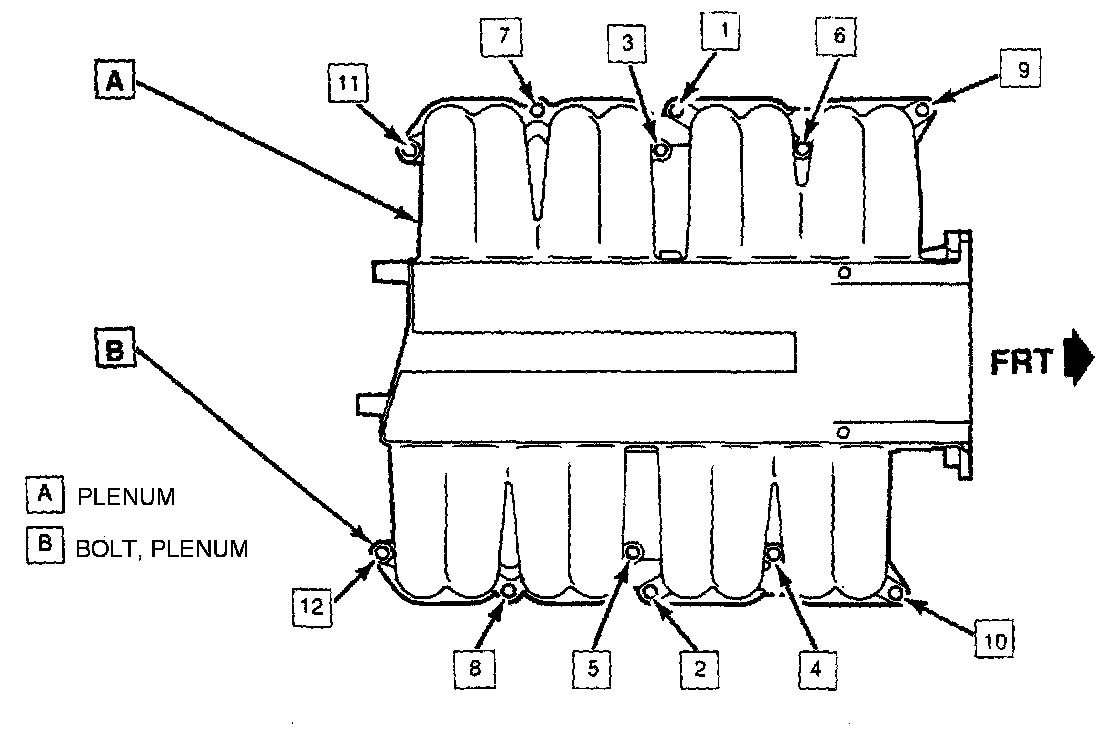
Intake Manifold Torque Sequence 5.7L (LT5):





Cylinder Head Torque Sequence 5.7L (LT5):